EasyManua.ls Logo

Peavey Transtube Transformer 112 - Page 32

Peavey Transtube Transformer 112
122 pages
To Next Page IconTo Next Page
To Next Page IconTo Next Page
To Previous Page IconTo Previous Page
To Previous Page IconTo Previous Page
Loading...
32
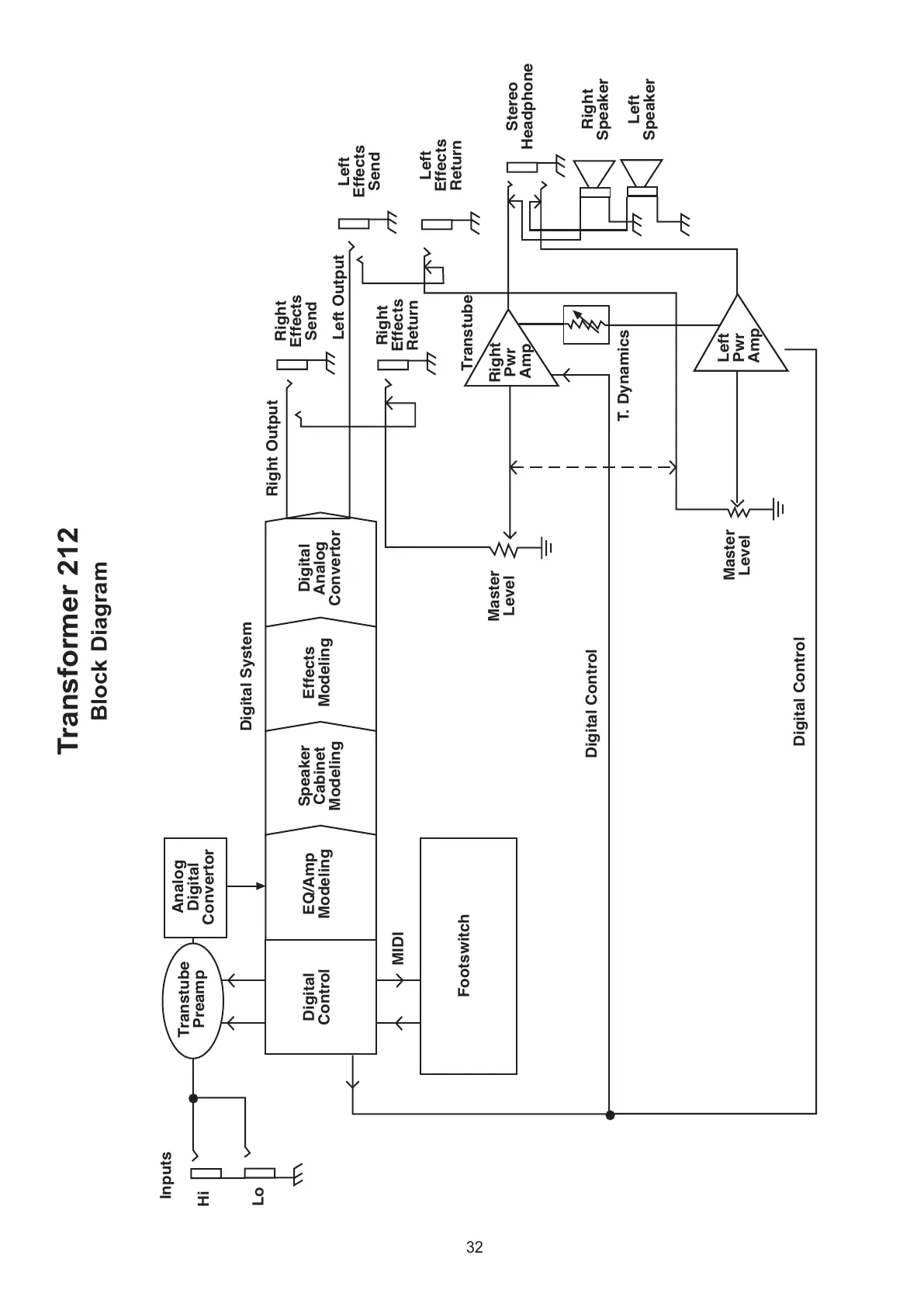
Digital
Control
EQ/Amp
Modeling
Speaker
Cabinet
Modeling
Effects
Modeling
Digital
Analog
Convertor
Analog
Digital
Convertor
Transtube
Preamp
Digital System
Hi
Lo
Footswitch
MIDI
Digital Control
Right
Pwr
Amp
Transtube
Master
Level
T. Dynamics
Right
Effects
Send
Right
Effects
Return
Stereo
Headphone
Right
Speaker
Right Output
Inputs
Left
Effects
Send
Left
Effects
Return
Left
Speaker
Left
Pwr
Amp
Master
Level
Digital Control
Left Output
Transformer 212
Block Diagram
All manuals and user guides at all-guides.com

Related product manuals