EasyManua.ls Logo

Peco TA155 - Electrical Ratings; Wiring and Application Notes; Wiring Connections Overview; Remote Sensor Installation Caution

Peco TA155
2 pages
Print Icon
To Previous Page IconTo Previous Page
To Previous Page IconTo Previous Page
Loading...
© Copyright 2010 PECO, Inc. All Rights Reserved P/N 68798 3220-1449 Rev2 Page 2
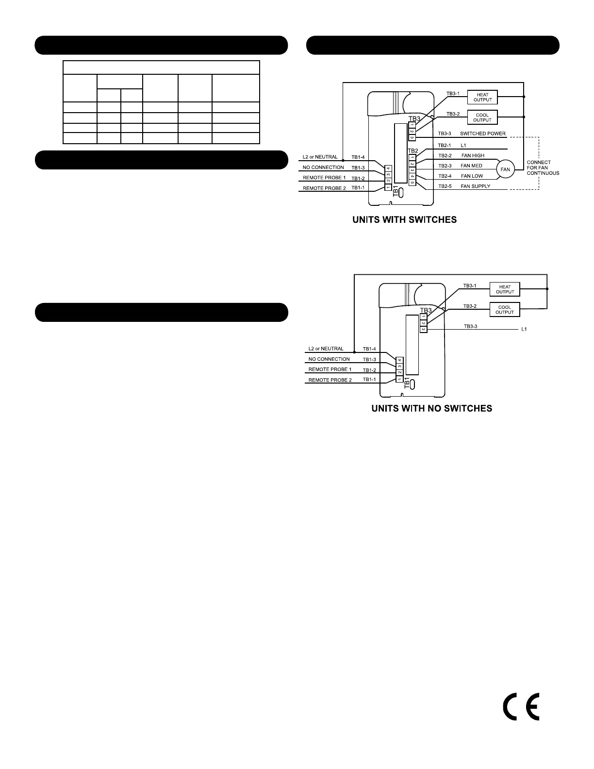
WhitewithOrangeStripe FanHigh
WhitewithRedStripe FanMedium
WhitewithBrownStripe FanLow
Red Heat
Blue Cool
Black L1
Yellow L2orNeutral
Orange SwitchedPower
Violet FanSupply
Brown RemoteProbe1
Brown RemoteProbe2
*Ifapplicable


1.Tousearemotesensor,removejumperJP-1todisablelocalsensing.



2.Remoteprobewiringshouldbelocatedawayfromanyelectrical
motors
orpowerwiring
3.Someunitsareinternallywiredforpermanentfancontinuous
operation.
4.OnunitswithaFanSupplyinputtheoperationofthefanis
determined
bywiringconnection.Forfancontinuous,jumpertheFan
Supply
input(TB2-5)totheSwitchedPoweroutput(TB3-3).
5.Forfancyclingoperationwithacallforheatorcool,afanrelaymust
be
used.
6.Observeelectricalratings.
Thermostatic
outputsarepilotdutyonly.


Voltage
Rating
Inductive
FLA LRA
Resistive
Amps
Pilot
Duty
Thermostatic
Switching
24 VAC
120 VAC
240 VAC
277 VAC
N.A. N.A. N.A. 24 VA 10 VA
5.8 34.8 6.0 125 VA 20 VA
20 VA
20 VA
125 VA
125 VA
2.9 17.4 5.0
2.4 14.4 4.2
FAN AND SYSTEM SWITCHES


Related product manuals