EasyManua.ls Logo

PEERLESS Mounts SUF650P - Wall Plate Installation; Installation to Wood Stud Wall

Default Icon
16 pages
Print Icon
To Next Page IconTo Next Page
To Next Page IconTo Next Page
To Previous Page IconTo Previous Page
To Previous Page IconTo Previous Page
Loading...
4 of 16
ISSUED: 02-05-09 SHEET #: 202-9346-1
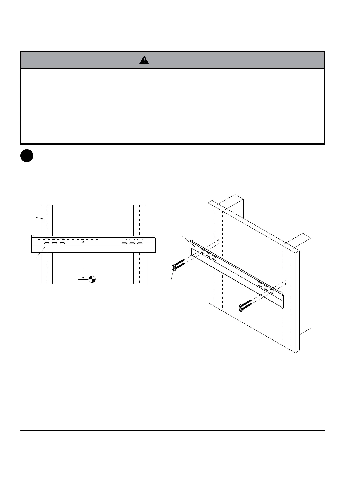
Installation to Wood Stud Wall
Wall plate (A) can be mounted to two studs that are 16" apart. Use a stud finder to locate the edges of the studs.
Use of an edge-to-edge stud finder is highly recommended. Based on their edges, draw a vertical line down each
stud’s center. Place wall plate on wall as a template. The mounting slots should be located 7" (177 mm) above the
desired screen center as shown in figure 1.1. Level plate, and mark the center of the four mounting holes. Make
sure that the mounting holes are on the stud centerlines. Drill four 5/32" (4 mm) dia. holes 2.5" (64 mm) deep.
Make sure that the wall plate is level, secure it using four #14 x 63.5 mm wood screws (C) as shown in fig. 1.2.
C
A
fig. 1.2
fig. 1.1
CENTER OF SCREEN
A
STUD
7"
(177 mm)
Installer must verify that the supporting surface will safely support the combined load of the equipment and all
attached hardware and components.
Tighten wood screws so that wall plate is firmly attached, but do not overtighten. Overtightening can damage the
screws, greatly reducing their holding power.
Never tighten in excess of 80 in. • lb (9 N.M.).
Make sure that mounting screws are anchored into the center of the stud. The use of an "edge to edge" stud finder
is highly recommended.
Hardware provided is for attachment of mount through standard thickness drywall or plaster into wood studs. Install-
ers are responsible to provide hardware for other types of mounting situations (not UL approved).
WARNING
1