EasyManua.ls Logo

PEERLESS PureFire PF-50 - Page 15

PEERLESS PureFire PF-50
92 pages
Print Icon
To Next Page IconTo Next Page
To Next Page IconTo Next Page
To Previous Page IconTo Previous Page
To Previous Page IconTo Previous Page
Loading...
13
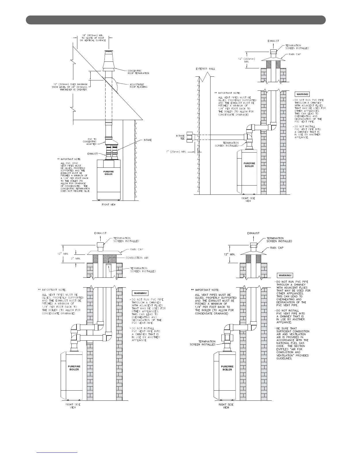
VENTING & AIR INLET PIPING
Figure 3.9: Concentric Vertical Vent Installation
Figure 3.10: Venting Through a Chimney Using
Outside Air
Figure 3.11: Venting Through a Chimney Using
Sidewall Outside Air
Figure 3.12: Venting with a Chimney Using Inside Air

Table of Contents

Related product manuals