EasyManua.ls Logo

Philips 29PT5445/85 - Side AV Panel

Philips 29PT5445/85
56 pages
Print Icon
To Next Page IconTo Next Page
To Next Page IconTo Next Page
To Previous Page IconTo Previous Page
To Previous Page IconTo Previous Page
Loading...
Circuit Diagrams and PWB Layouts
EN 35L03.1U AA 7.
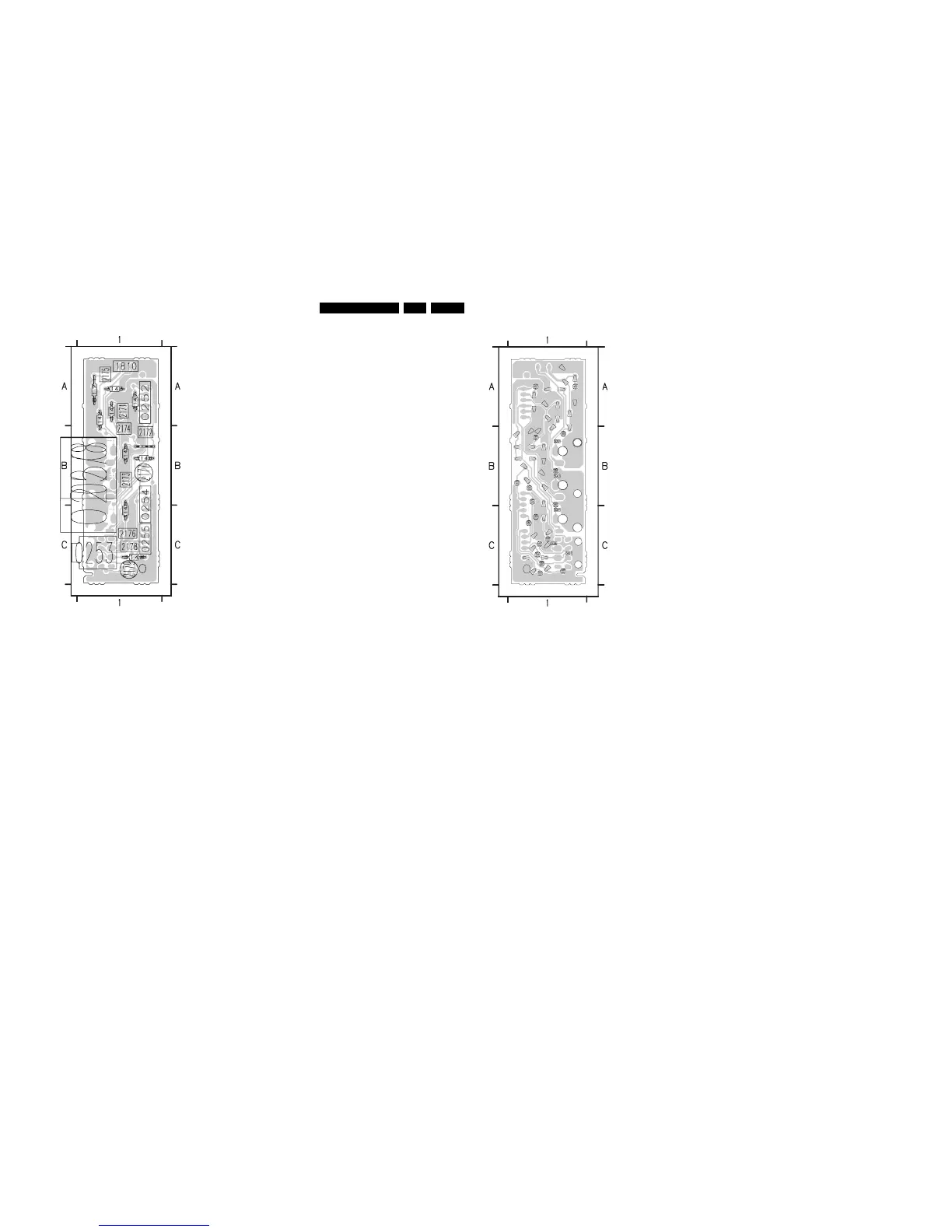
Layout Side AV Panel (Top Side)
0250 B1
0252 A1
0253 C1
0254 B1
0255 C1
0278 B1
1810 A1
2171 A1
2172 B1
2173 B1
2174 A1
2175 A1
2176 C1
2177 B1
2178 C1
2179 C1
3142 A1
3143 A1
3144 A1
3145 B1
3146 B1
3147 A1
3148 C1
3149 C1
6171 A1
9162 B1
3141 053 3115.2
G_13933_018.eps
050506
Layout Side AV Panel (Bottom Side)
3141 053 3115.2
G_13933_019.eps
050506
SG07 C1
SG02 B1
SG06 C1
SG03 B1
SG04 C1

Related product manuals