EasyManua.ls Logo

Philips 32PHS4032/12 - Page 38

Philips 32PHS4032/12
118 pages
Print Icon
To Next Page IconTo Next Page
To Next Page IconTo Next Page
To Previous Page IconTo Previous Page
To Previous Page IconTo Previous Page
Loading...
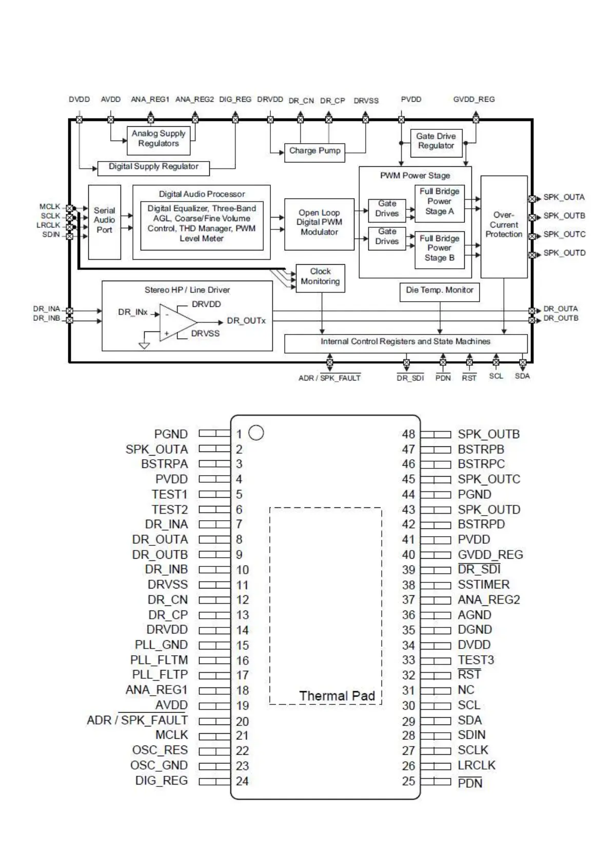
7.3 TAS5753MDDCAR (IC U601)

Other manuals for Philips 32PHS4032/12

Related product manuals