EasyManua.ls Logo

Philips 39PHT4112/05 - Page 38

Philips 39PHT4112/05
118 pages
Print Icon
To Next Page IconTo Next Page
To Next Page IconTo Next Page
To Previous Page IconTo Previous Page
To Previous Page IconTo Previous Page
Loading...
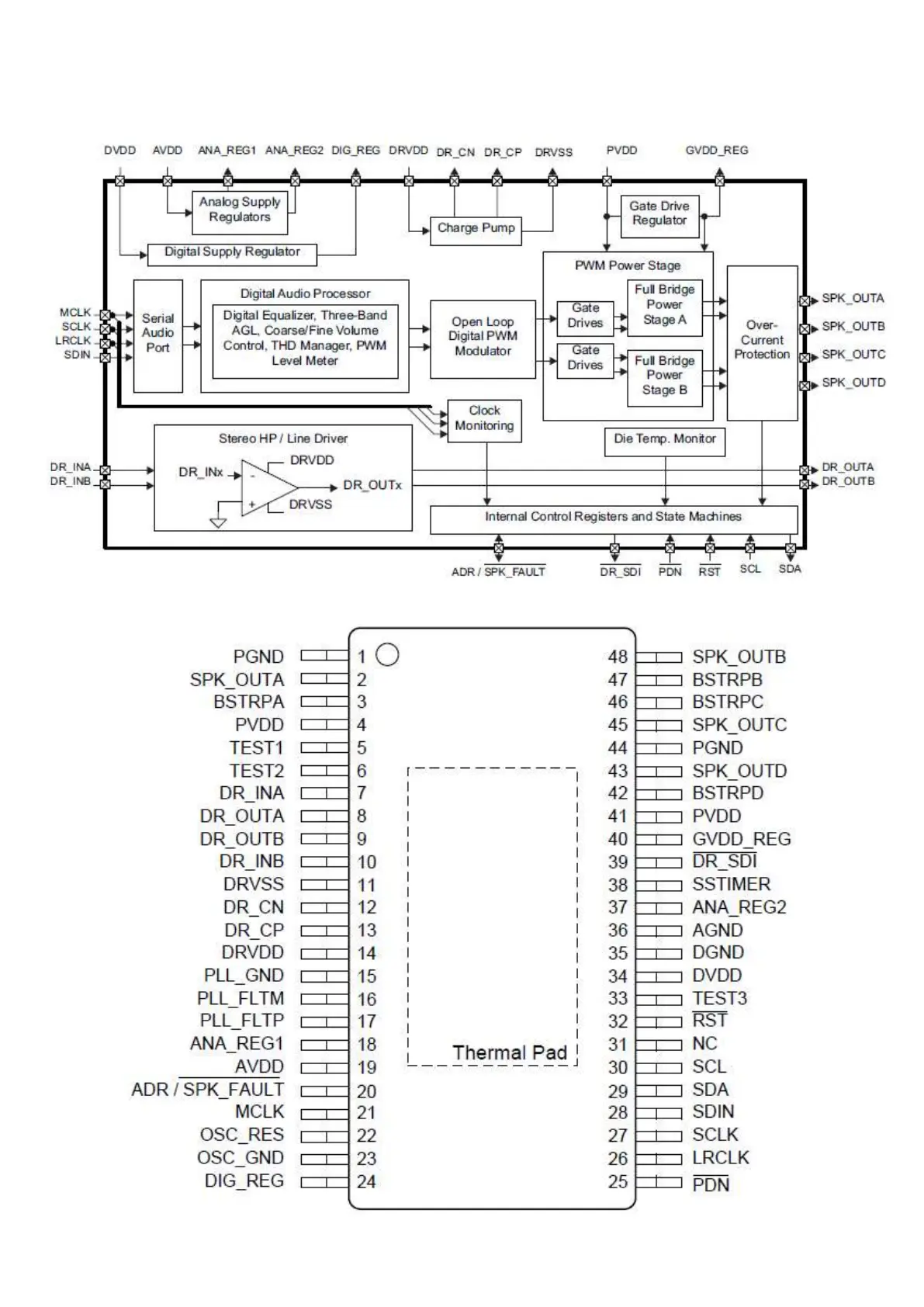
7.3 TAS5753MDDCAR (IC U601)

Other manuals for Philips 39PHT4112/05

Related product manuals