EasyManua.ls Logo

Philips 40PFL5606D - 3 Your TV

Philips 40PFL5606D
47 pages
Print Icon
To Next Page IconTo Next Page
To Next Page IconTo Next Page
To Previous Page IconTo Previous Page
To Previous Page IconTo Previous Page
Loading...
6 EN
3 Your TV
Congratulations on your purchase, and
welcome to Philips! To fully benet from the
support that Philips offers, register your TV at
www.philips.com/welcome.
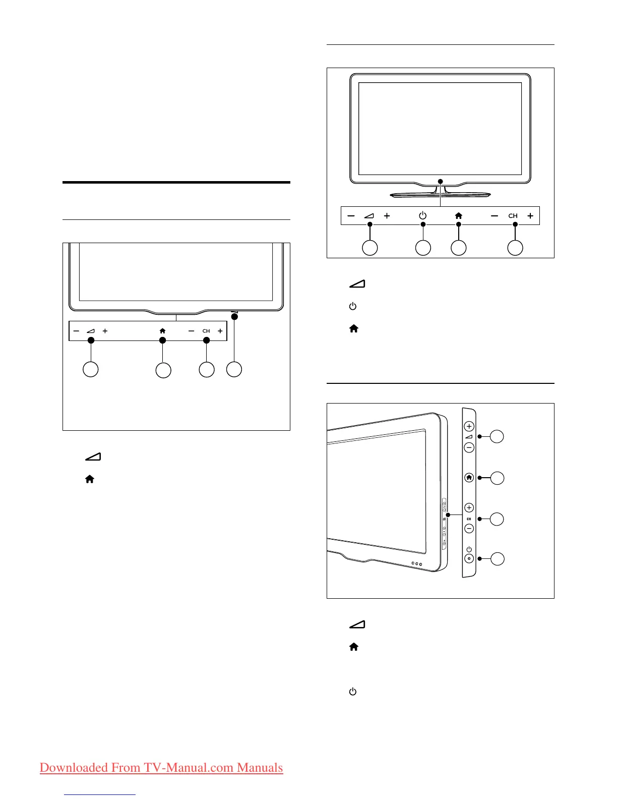
TV controls
For xxPFL5xx6
a +/-: Adjust volume.
b
(Home): Access the home menu.
c CH +/-: Switch channels.
d Power: Switch the TV on or off.
1
2
3
4
For xxPFL4xx6
a +/-: Adjust volume.
b
(Power): Switch the TV on or off.
c
(Home): Access the home menu.
d CH +/-: Switch channels.
For xxPFL3xx6
a +/-: Adjust volume.
b
(Home): Access the home menu.
c CH +/-: Switch channels.
d
(Power): Switch the TV on or off.
1 2 3 4
2
1
3
4
Downloaded From TV-Manual.com Manuals

Table of Contents

Related product manuals