EasyManua.ls Logo

Philips 55OLED754/12 - Electrical Diagram

Philips 55OLED754/12
110 pages
Print Icon
To Next Page IconTo Next Page
To Next Page IconTo Next Page
To Previous Page IconTo Previous Page
To Previous Page IconTo Previous Page
Loading...
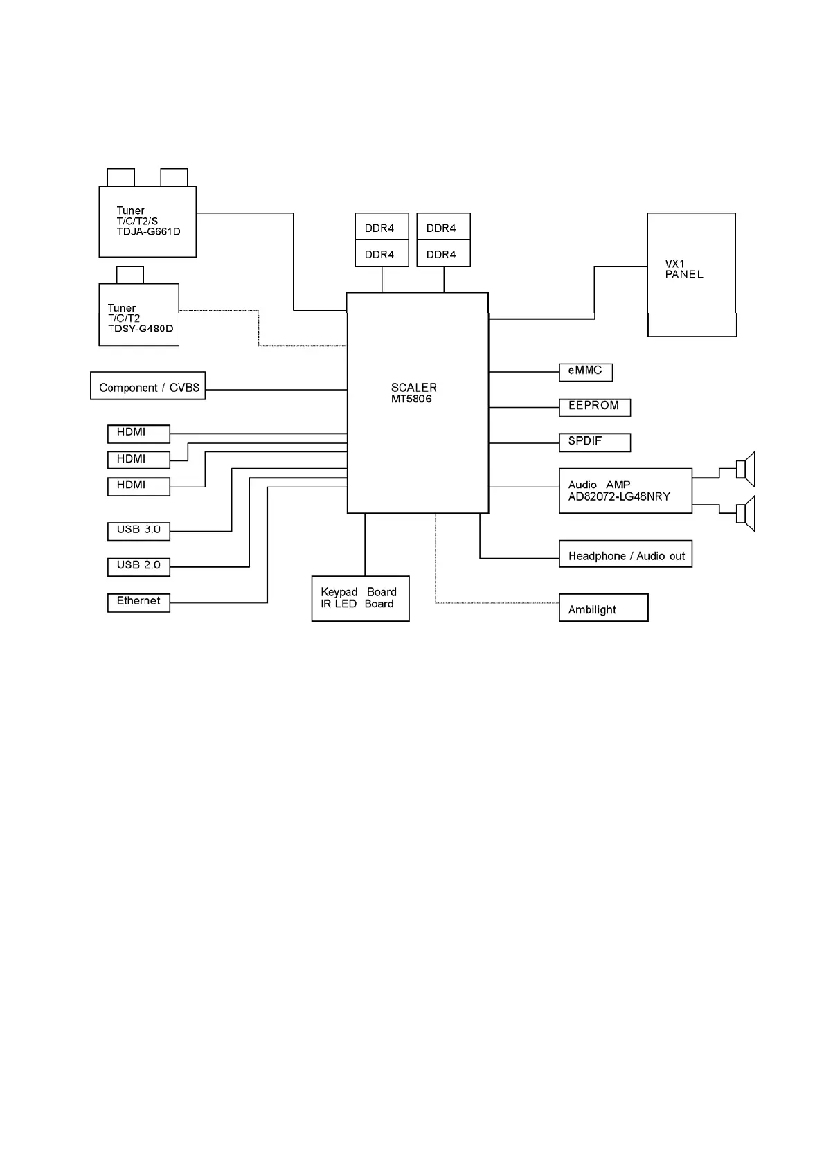
7. Electrical Diagram
7.1 Block diagram

Related product manuals