EasyManua.ls Logo

Philips 55OLED754/12 - Page 42

Philips 55OLED754/12
110 pages
Print Icon
To Next Page IconTo Next Page
To Next Page IconTo Next Page
To Previous Page IconTo Previous Page
To Previous Page IconTo Previous Page
Loading...
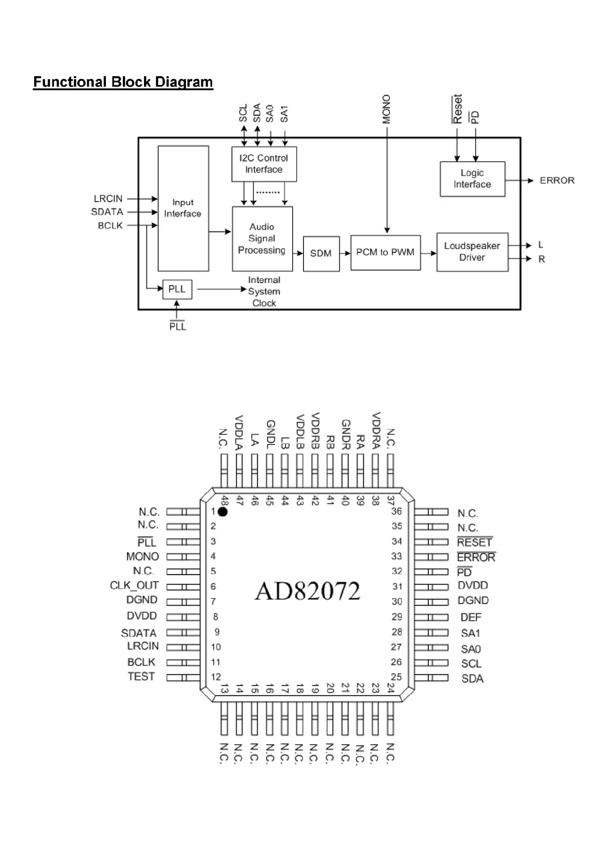
8.2 AD82072-LG48NRY (IC U601--Audio)

Related product manuals