EasyManua.ls Logo

Philips 58PUS8105/12 - Page 36

Philips 58PUS8105/12
95 pages
Print Icon
To Next Page IconTo Next Page
To Next Page IconTo Next Page
To Previous Page IconTo Previous Page
To Previous Page IconTo Previous Page
Loading...
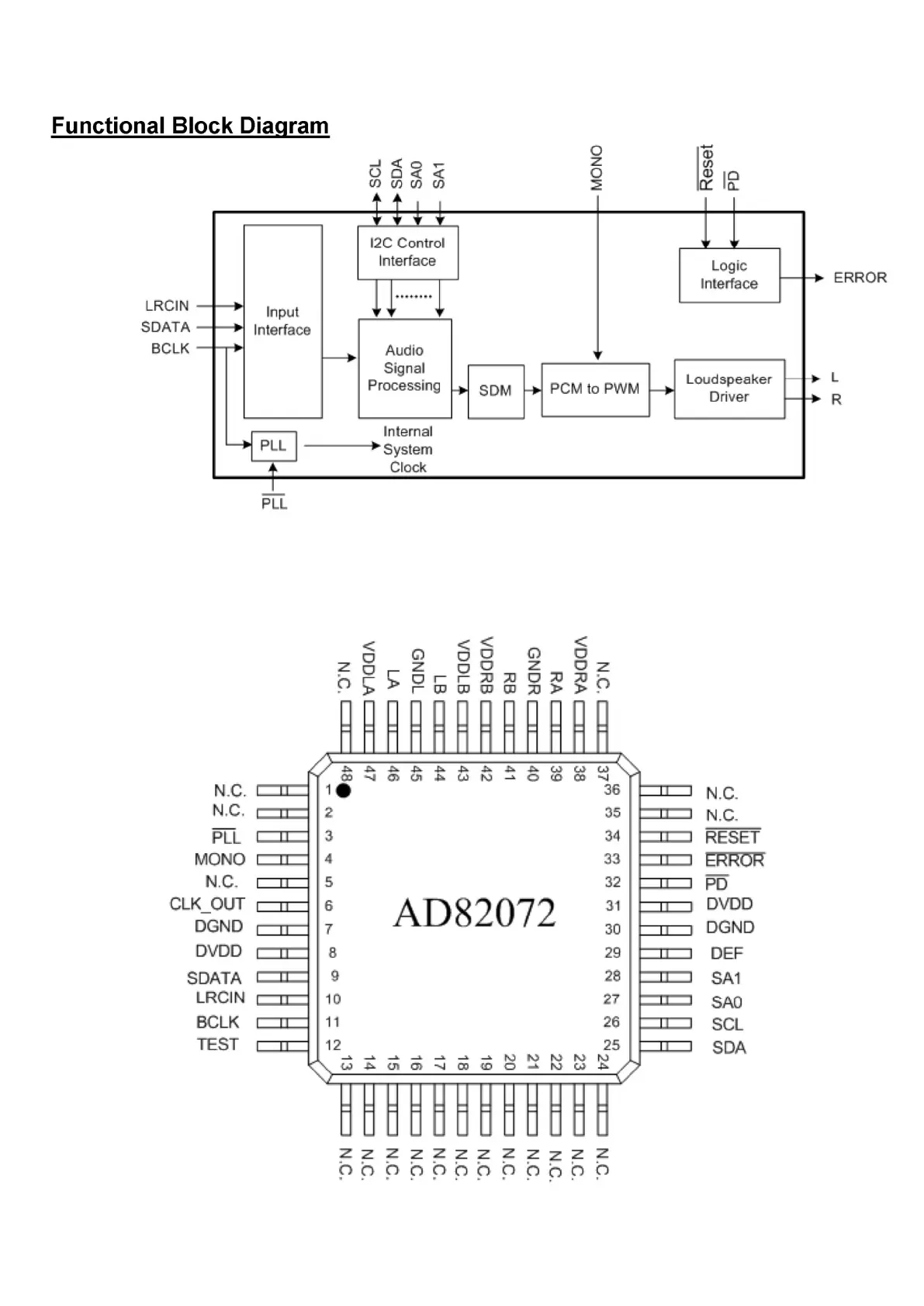
8.2 AD82072-LG48NRY (IC U601--Audio)

Related product manuals