EasyManua.ls Logo

Philips 65BDL4650D - Input;Output Terminals

Philips 65BDL4650D
84 pages
Print Icon
To Next Page IconTo Next Page
To Next Page IconTo Next Page
To Previous Page IconTo Previous Page
To Previous Page IconTo Previous Page
Loading...
65BDL4650D/75BDL4650D/86BDL4650D
17
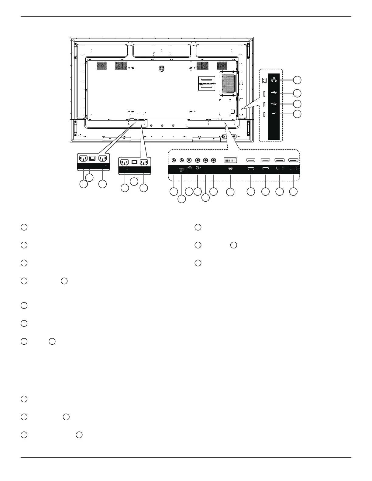
3.2. Input/Output Terminals
4
5
6 7
8
9
10
11 12 13 14
18
17
16
15
DVI-I IN
HDMI 2 IN
HDMI 1 IN
RS232
IN
IR-OUT
PC
LINE IN
AUDIO
OUT
DP IN
DP OUT
IR-IN
USB3.0
USB3.0
(Service Port)
EXPANSION
SLOT
RJ45
MICRO USB
100-240V
50/60Hz 2.5A
1 3
2
65BDL4650D
86BDL4650D
75BDL4650D
100-240V
50/60Hz 2.5A
3 1
2
1
AC IN
AC power input from the wall outlet.
2
MAIN POWER SWITCH
Switch the main power between On and O.
3
AC OUT
AC power supply to the AC IN jack of a media player.
4
RS232 IN /
5
RS232 OUT
RS232 network input / output for the loop-through
function.
6
PC LINE IN
Audio input for VGA source (3.5mm stereo phone).
7
AUDIO OUT
Audio output to external AV device.
8
IR IN /
9
IR OUT
IR signal input / output for the loop-through function.
NOTES:
This display’s remote control sensor will stop working
if the jack [IR IN] is connected.
To remotely control your A/V device via this display,
refer to page 28 for IR Pass Through connection.
10
DVI-I IN
DVI-I video input. VGA video input.
11
HDMI1 IN /
12
HDMI2 IN
HDMI video/audio input.
13
DisplayPort IN /
14
DisplayPort OUT
DisplayPort video input / output.
15
MICRO USB
Support ADB data transmission, OTG is not supported.
16
USB 3.0 /
17
USB 3.0
Connect to a USB storage device.
18
RJ-45
LAN control function for the use of remote control signal
from control center.

Related product manuals