EasyManua.ls Logo

Philips CD304 MK II - Page 60

Philips CD304 MK II
60 pages
Print Icon
To Previous Page IconTo Previous Page
To Previous Page IconTo Previous Page
Loading...
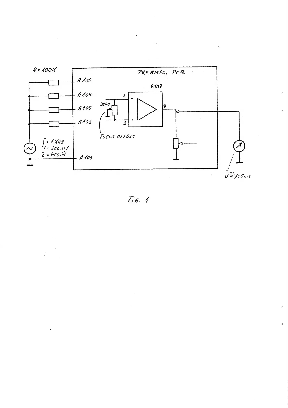
4x
J00K
PREAMPCL,
PCR
61707
FocuS
OFFSET
f
yz
“com
V

Related product manuals