EasyManua.ls Logo

PIAGGIO Beverly 125 - Handlebar Components

PIAGGIO Beverly 125
278 pages
Print Icon
To Next Page IconTo Next Page
To Next Page IconTo Next Page
To Previous Page IconTo Previous Page
To Previous Page IconTo Previous Page
Loading...
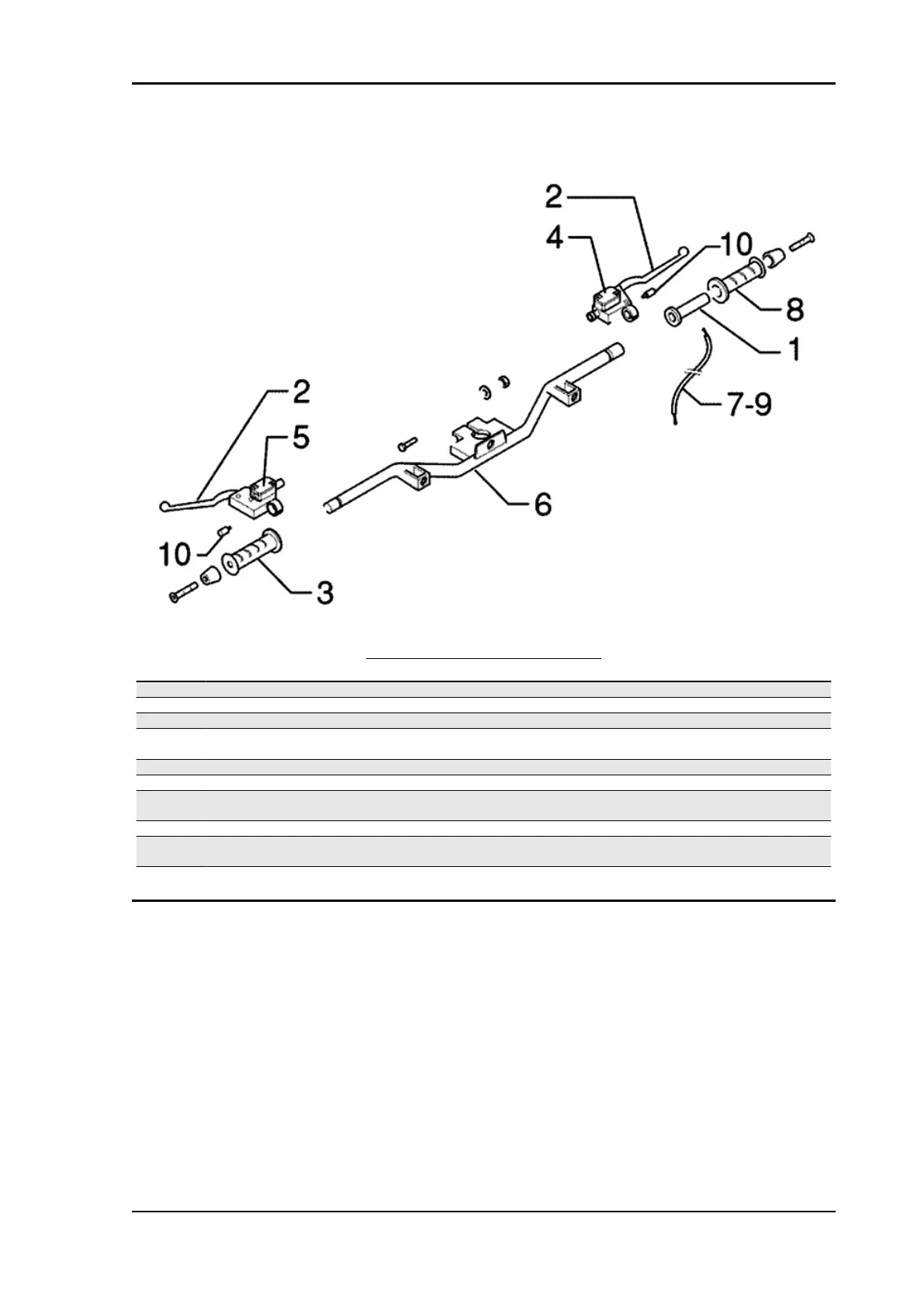
Handlebar components
HANDLEBAR COMPONENTS
Code
Action Duration
1 002060 Throttle grip - Replacement
2 002037 Brake or clutch lever - Replacement
3 002071 Left knob - Replacement
4 002024 Front brake pump - Removal and Re-
fitting
5 002067 Rear brake pump - Replacement
6 003001 Handlebar - Replacement
7 002063 Complete throttle grip transmission -
Replacement
8 002059 Right-hand knob - Replacement
9 003061 Accelerator transmission - Adjust-
ment
10 005017 Stop switch - Replacement
Beverly 125 Time
TIME - 261

Table of Contents

Other manuals for PIAGGIO Beverly 125

Related product manuals