EasyManua.ls Logo

Pipishell PILFK1 - Step 6: Post-Installation Leveling

Pipishell PILFK1
10 pages
Print Icon
To Previous Page IconTo Previous Page
To Previous Page IconTo Previous Page
Loading...
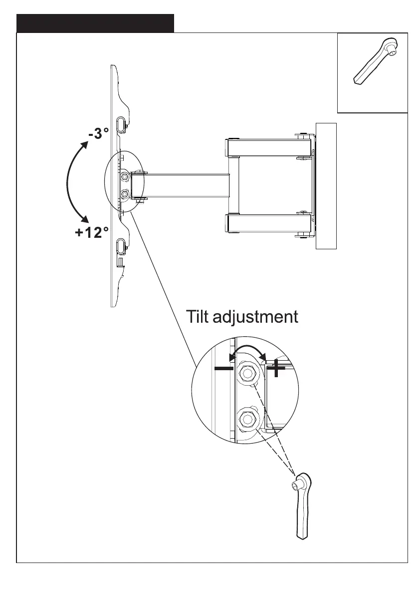
Step 7 Tilt adjustment
socket wrench

Other manuals for Pipishell PILFK1

Related product manuals