EasyManua.ls Logo

poclain hydraulics MK05 - Page 93

poclain hydraulics MK05
100 pages
Print Icon
To Next Page IconTo Next Page
To Next Page IconTo Next Page
To Previous Page IconTo Previous Page
To Previous Page IconTo Previous Page
Loading...
POCLAIN HYDRAULICS
800078181E DOC-REPAIR-MK05-MKE18-FR-EN 93
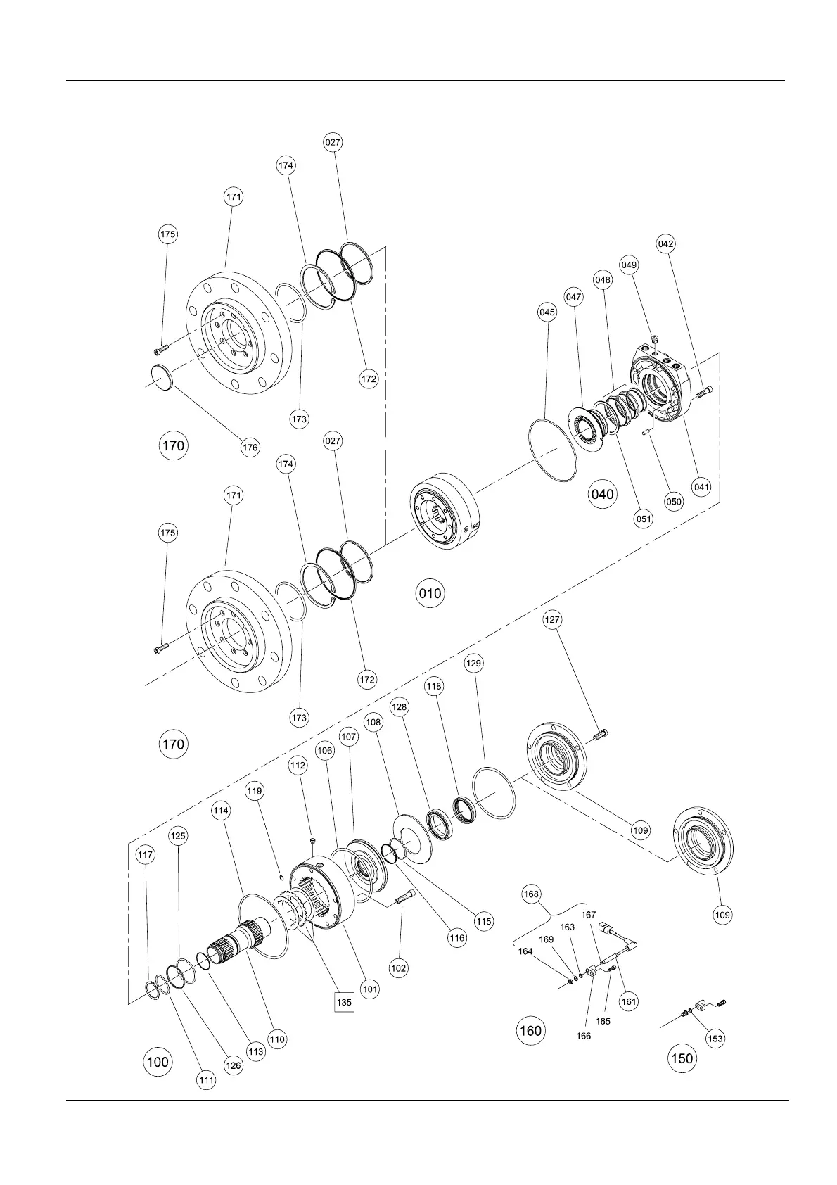
MOTEUR HYDRAULIQUE MK09
MK09 HYDRAULIC MOTOR

Table of Contents

Related product manuals