EasyManua.ls Logo

Potter PSN-64 - Page 13

Default Icon
48 pages
Print Icon
To Next Page IconTo Next Page
To Next Page IconTo Next Page
To Previous Page IconTo Previous Page
To Previous Page IconTo Previous Page
Loading...
PSN-106:9
PSN-106, PSN-64, PSB-10 • 5403590 • REV A • 12/09
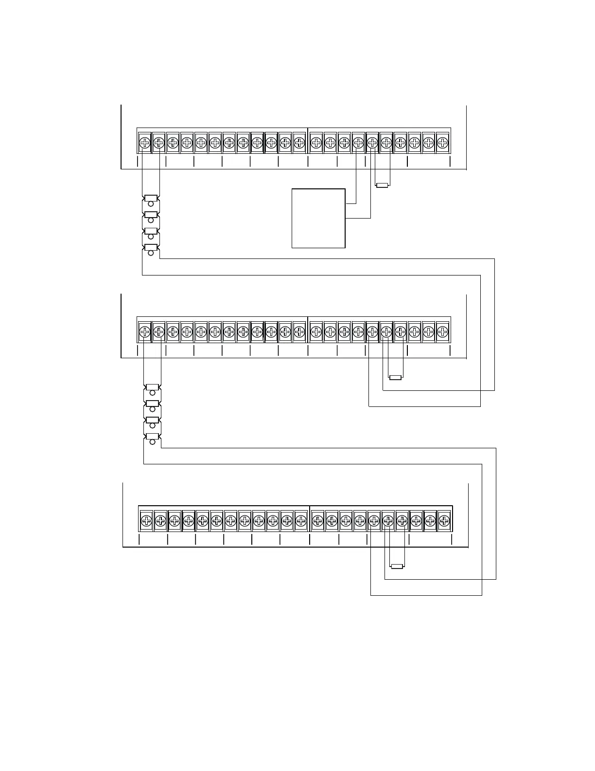
Pass Thru Mode
The NAC output of the PSN-106 can be used to trigger additional supplies. Up to 3 supplies maximum can be con gured in this
manner. Full system synchronization is maintained. The minimum wire gauge between supplies is 18 AWG. A maximum wiring
distance of 10,000 feet is allowed between each supply.
EOL
Class-B
FACP
NAC
Output
-
+
NAC1
- +
NAC2
- +
NAC3
- +
NAC4
- +
NAC5
- +
NAC6
- +
AUX
- +
REF
EOL
IN 1
- + EOL
IN 2
- + EOL
NAC1
- +
NAC2
- +
NAC3
- +
NAC4
- +
NAC5
- +
NAC6
- +
DC PWR
- +
REF
EOL
IN 1
- + EOL
IN 2
- + EOL
EOL
NAC1
- +
NAC2
- +
NAC3
- +
NAC4
- +
NAC5
- +
NAC6
- +
DC PWR
- +
REF
EOL
IN 1
- + EOL
IN 2
- + EOL
EOL
DWG# 3590-14

Related product manuals