EasyManua.ls Logo

Power Tech-On PS1004 - PS1002 Parts List

Default Icon
27 pages
Print Icon
To Next Page IconTo Next Page
To Next Page IconTo Next Page
To Previous Page IconTo Previous Page
To Previous Page IconTo Previous Page
Loading...
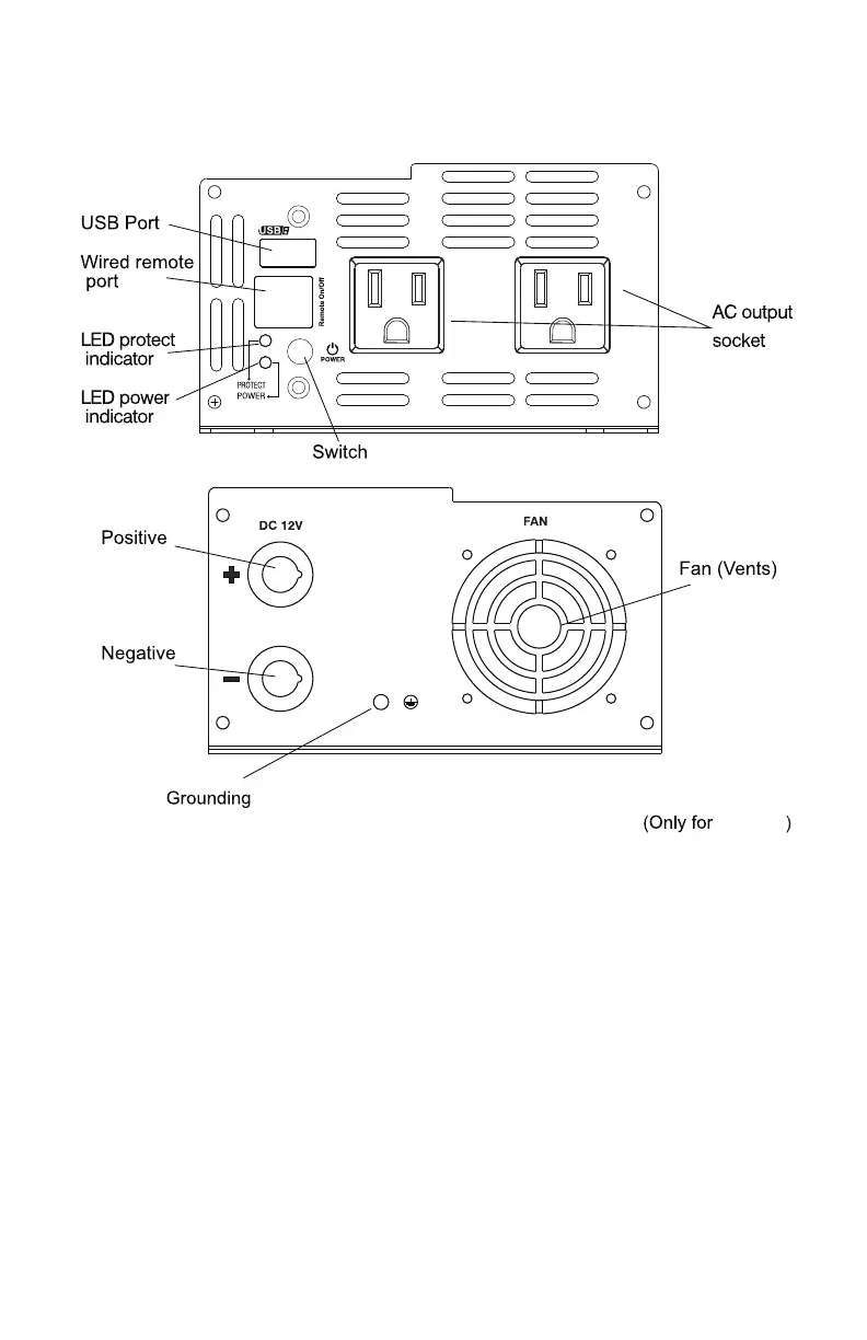
PS1002
PARTS LIST
PS1002
9
Chassis

Related product manuals