EasyManua.ls Logo

Power Tech-On PS1005 - Page 10

Default Icon
27 pages
Print Icon
To Next Page IconTo Next Page
To Next Page IconTo Next Page
To Previous Page IconTo Previous Page
To Previous Page IconTo Previous Page
Loading...
PS1003, PS1004, PS1005
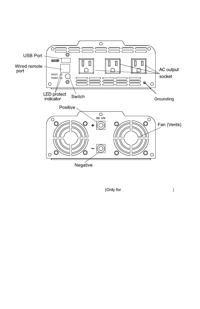
PARTS LIST
PS1003, PS1004, PS 1005
10
Chassis

Related product manuals