EasyManua.ls Logo

Power Tech-On PS1005 - Page 9

Default Icon
27 pages
Print Icon
To Next Page IconTo Next Page
To Next Page IconTo Next Page
To Previous Page IconTo Previous Page
To Previous Page IconTo Previous Page
Loading...
PS1002
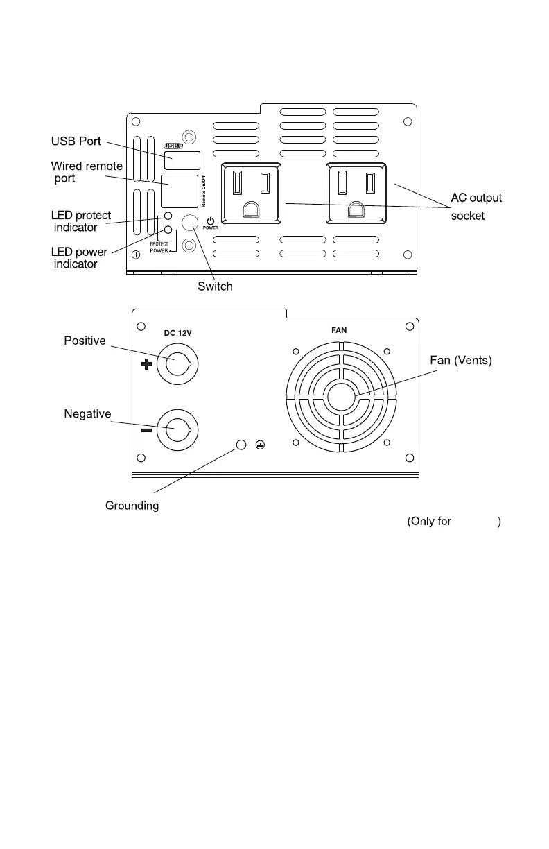
PARTS LIST
PS1002
9
Chassis

Related product manuals