EasyManua.ls Logo

POWERWINCH CAPSTAN 1000 - Mounting the Unit; Mounting Template and Process

POWERWINCH CAPSTAN 1000
12 pages
Print Icon
To Next Page IconTo Next Page
To Next Page IconTo Next Page
To Previous Page IconTo Previous Page
To Previous Page IconTo Previous Page
Loading...
CAPSTAN POWERED LIFT ASSIST POWERWINCH
4
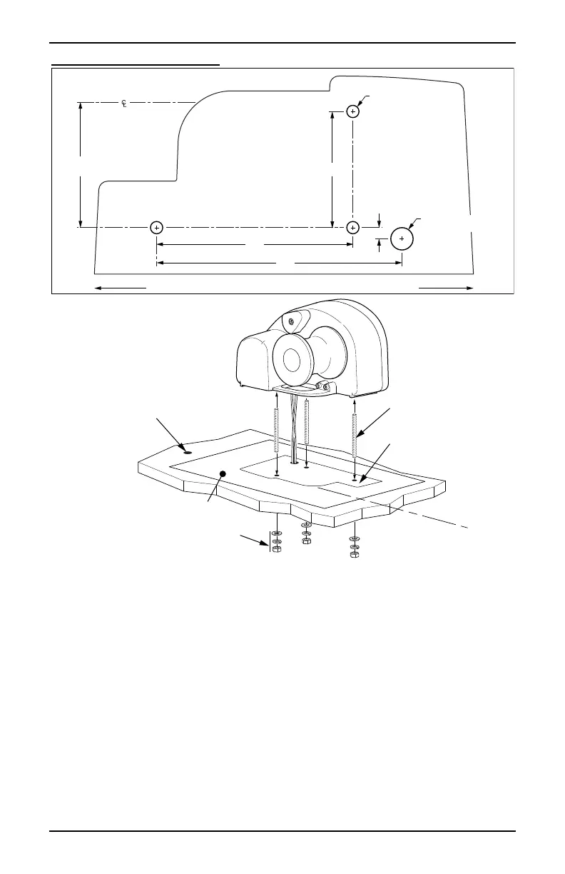
MOUNTING THE UNIT
Mounting Template
Centerline
of Davit/Bow Roller
5/16" Mounting Stud
(x3)
Flat Washer
Lock Washer
5/16" Nut
(x3)
pwcs001
Drill Holes as
Shown on Template
(4 total)
BOW OF BOAT
Center Of Rope
Anchor Winch To Davit
5/16"
[7.9mm]
3 1/2"
(88.9mm]
5 1/2"
[139.7mm]
6 7/8"
[174.6mm]
3 1/4"
[82.6mm]
STERN OF BOAT
1/2" Hole Thru
Wire Harness
3/8" Hole Thru
Winch Mounting Hole
(3 Plcs)
P1053700AV Mounting Template
Drill 5/8" Hole for Foot Switch
(see text for location suggestions)
1. Place the mounting template on the deck in the desired location and secure
with tape.
a. The centerline of the capstan must line up with the centerline of the
davit or bow roller.
2. Drill the holes as marked on the template.
3. Remove the template.
4. Use a small amount of thread locker on the end of the studs then thread the
5/16-18 x 3 1/2" studs into the winch. Hand tighten until snug.
5. Align the winch and the studs with the holes in the deck. Insert the wires
through the hole in the deck. Lower the winch to the deck.
6. Under the deck, secure the winch to the deck use one (1) each 5/16 flat
washer, 5/16 lock washer and 5/16 nut on each of the studs. Tighten the
nuts to secure the winch to the deck.

Other manuals for POWERWINCH CAPSTAN 1000

Related product manuals