EasyManua.ls Logo

Precor GluteBuilder GPL724/D45HE - Page 24

Precor GluteBuilder GPL724/D45HE
31 pages
Print Icon
To Next Page IconTo Next Page
To Next Page IconTo Next Page
To Previous Page IconTo Previous Page
To Previous Page IconTo Previous Page
Loading...
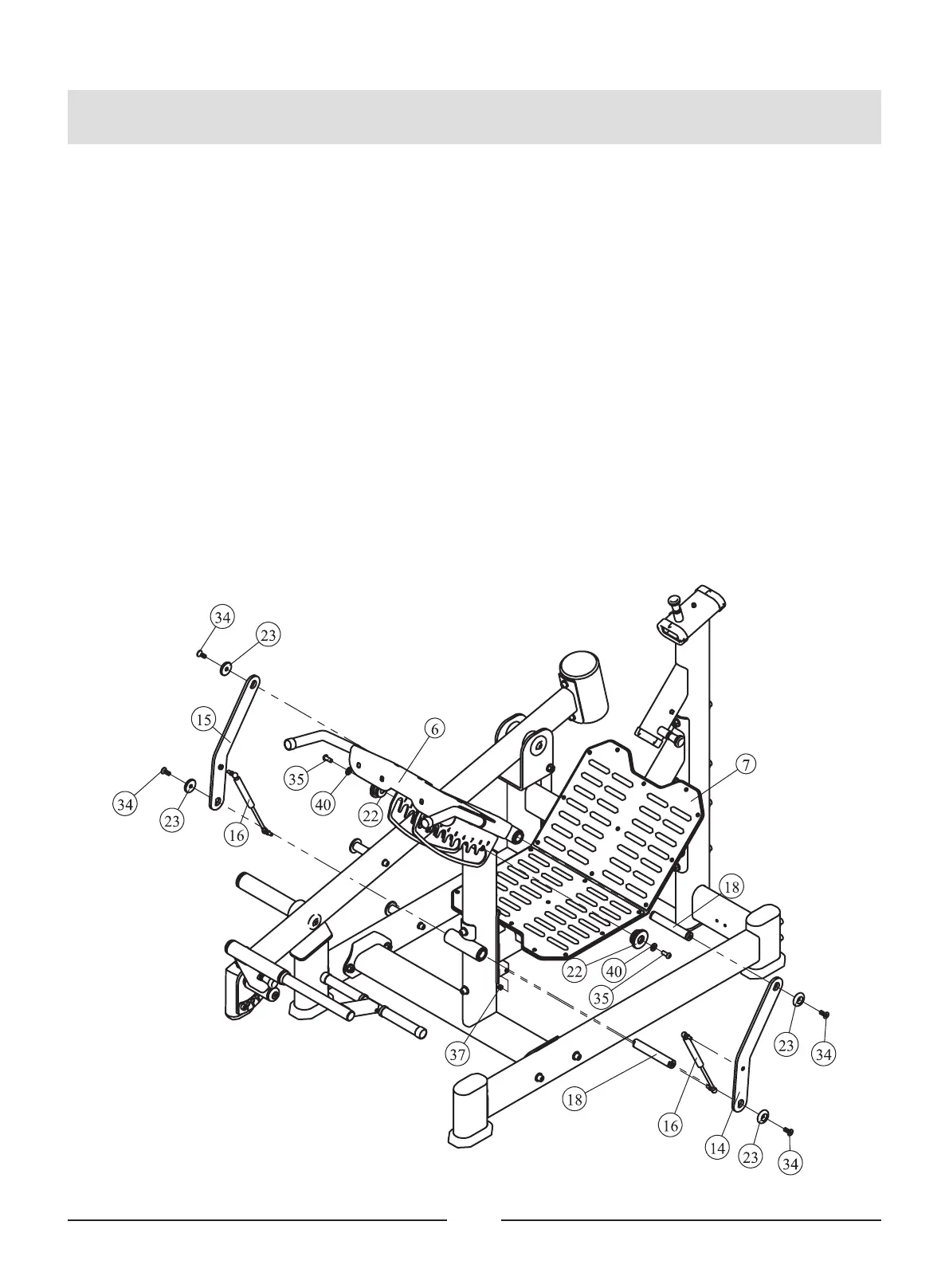
STEP 5
1. Attach one Upper Handlebar ASSY (#6) to Front Main Frame ASSY (#4), using:
two Pulley (#22) two Φ11*Φ23*2 Flat Washer (#40)
two M10*25 BHCS (#35)
Note that the Pulley (#22) can only be assembled through hole No. 9 of the Upper
Handlebar ASSY (#6).
2. Attach Two Air Springs (#16) to one Rotating Frame 1 (#14), one Rotating Frame 2
(#15) respectively.
3. Attach one Rotating Frame 1 (#14), one Rotating Frame 2 (#15) to Front Main Frame
ASSY (#4), using:
two Shafe (#18) four Cap Φ43 (#23)
four M10*25 FHCS (#34)
4. Attach the other end of the Two Air Springs (#16) to Front Main Frame ASSY (#4), using:
two M8 Nylon Lock Nut (#37)
Note: Wrench Tighten Bolts.
Assembly
24

Related product manuals