EasyManua.ls Logo

Primera 400B - Locations and Clearances

Primera 400B
31 pages
Print Icon
To Next Page IconTo Next Page
To Next Page IconTo Next Page
To Previous Page IconTo Previous Page
To Previous Page IconTo Previous Page
Loading...
34-50 04/02/2010
4
CODES
The equipment shall be installed in accordance with those installation regulations in force in the local area where the installation is
to be made. These shall be carefully followed in all cases. Authorities having jurisdiction shall be consulted before installation is
made. In the absence of such requirements, the installation shall conform to the latest edition of the National Fuel Gas Code, ANSI
Z223.1. Where required by the authority having jurisdiction, the installation must conform to American Society of Mechanical
Engineers Safety Code for Controls and Safety Devices for Automatically Fired Boilers, No. (CSD-1). All appliances conform to the
latest edition of the ASME Boiler and Pressure Vessel Code, Section IV. Where required by the authority having jurisdiction, the
installation must comply with the Canadian Association Code, CAN/CSA-B149.1 and/or B149.2 and/or local codes.
LOCATION
These units are suitable for indoor installation and may be suitable for outdoor use with the addition of the optional
outdoor venting kit.
1. Locate the unit so that if water connections should leak, water damage will not occur. When such locations are
unavoidable, install a suitable drain pan, adequately drained, under the unit. Under no circumstances is the
manufacturer responsible for water damage in connection with this unit, or any of its components. The
manufacturer’s warranty does not include Water damage.
2. Protect associated electrical components and electrical connections from water (dripping, spraying, rain, etc.)
during appliance operation and service.
3. Place the appliance on a level, non-combustible floor. Concrete over wood is not considered non-combustible.
4. Do not install on carpet or other combustible floor coverings.
5. Installation over a combustible floor: Units installed over a combustible floor MUST be provided with a base of
hollow clay tile or concrete blocks from 8" to 12" thick and extending 24" beyond the sides. Place the blocks in line
so that the holes line up horizontally to provide a clear passage through the blocks. Install 1/2” fireproof millboard
with a 20-gage sheet metal cover over the block base. Center the unit on the base. Also follow this procedure if
electrical conduit runs through the floor, and beneath the appliance. A field-installed base must meet all local fire
and safety code requirements.
6. Outdoor models have special location and clearance requirements (See Outdoor Installation in the Venting
section).
SERVICE CLEARANCES
Allow sufficient space to provide adequate clearances on all sides for service and inspection. It is recommended that
24” be provided at the top and front, 14” be provided at the rear and 8” at left and right sides of the appliance for
service clearances. Optional equipment may increase the clearance requirements. See the “Combustion and
Ventilating Air” and “Venting” section for appliance vent and inlet air installation and clearance information. Allow
sufficient space for installing and servicing connections such as water, gas, vent, combustion air, electrical, pump and
other auxiliary equipment.
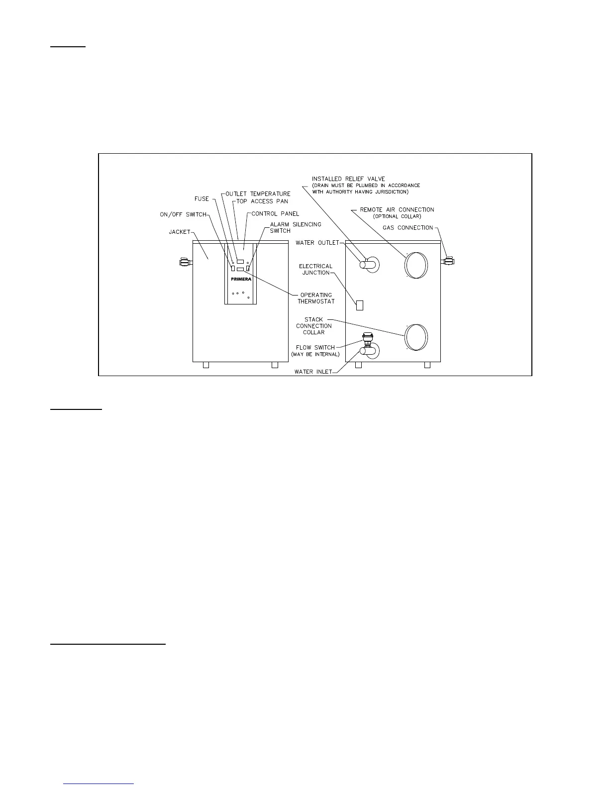
Component, Controls and Connection Locations (Locations May Vary)