EasyManua.ls Logo

Pro'sKit NT-8540 - Display Layout and Indicators; Measurement Status Indicators; Measurement Value Displays

Default Icon
28 pages
Print Icon
To Next Page IconTo Next Page
To Next Page IconTo Next Page
To Previous Page IconTo Previous Page
To Previous Page IconTo Previous Page
Loading...
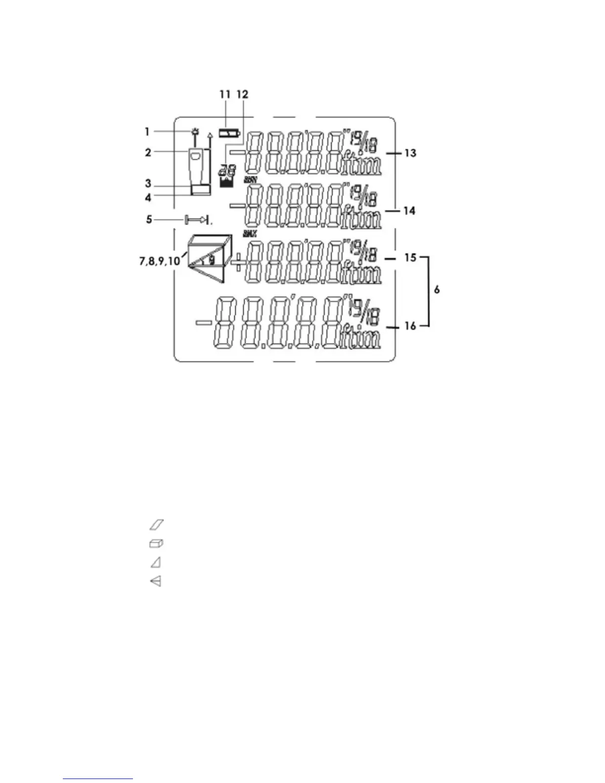
Display
1. Laser on
2. Reference point (top)
3. Reference point (bottom)
4. Continuous measurement
5. Recall the
6. Error message, 15 appear “ Error”, 16 appear error cord.
7, 8, 9, 10 auxiliary tools:
Area measurement
Volume measurement
Pythagorean two points
Pythagorean three points
11. Battery status
12. Historical data
13. Value 1 / Min value
14. Value 2 / Max value
15. Value 3
16. Summary line / latest value / calculation result
4

Related product manuals