EasyManua.ls Logo

PROCELLA AUDIO DA-2800 - Connecting Outputs - Single Channel and Bridged Mode

Default Icon
20 pages
Print Icon
To Next Page IconTo Next Page
To Next Page IconTo Next Page
To Previous Page IconTo Previous Page
To Previous Page IconTo Previous Page
Loading...
12
12
DA-2800 Operating Instructions V0.4
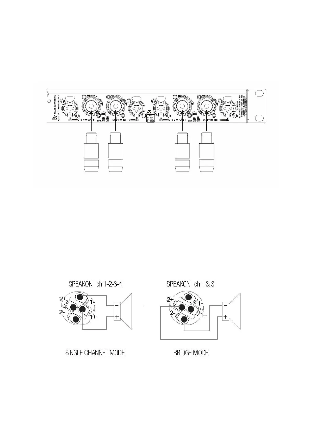
1.7 Connecting Outputs – Single Channel and Bridged Mode
Warning: there are lethal voltages at the loudspeaker connectors when the amplifier is turned
on. To prevent any damage, turn the amplifier off before connecting the loudspeakers.
Output connections are made via Neutrik Speakon connectors. The speaker wire for each channel will need to
be connected to a Speakon connector per the drawing below. In single channel mode, the 1+ pin of the
Speakon connector must be used for the positive output of the channel and the 1- pin of the Speakon
connector is to be used as the negative output of the channel. In bridged mode, the 2+ pin of the Speakon
connector is used for the positive output and the 2- pin is used for the negative output.
The figure below shows the wiring connection of the Speakons to the speakers. Pay attention to the
position of the Link switch: in Bridged Mode, set the Link switch to "on" and set the individual gain
controls of each pair of channels to the same level.