EasyManua.ls Logo

Procopi pH 220 - Raccordement Électrique Et Protection; Asservissement; Amorçage du Doseur; Dosage

Procopi pH 220
Print Icon
To Next Page IconTo Next Page
To Next Page IconTo Next Page
To Previous Page IconTo Previous Page
To Previous Page IconTo Previous Page
Loading...
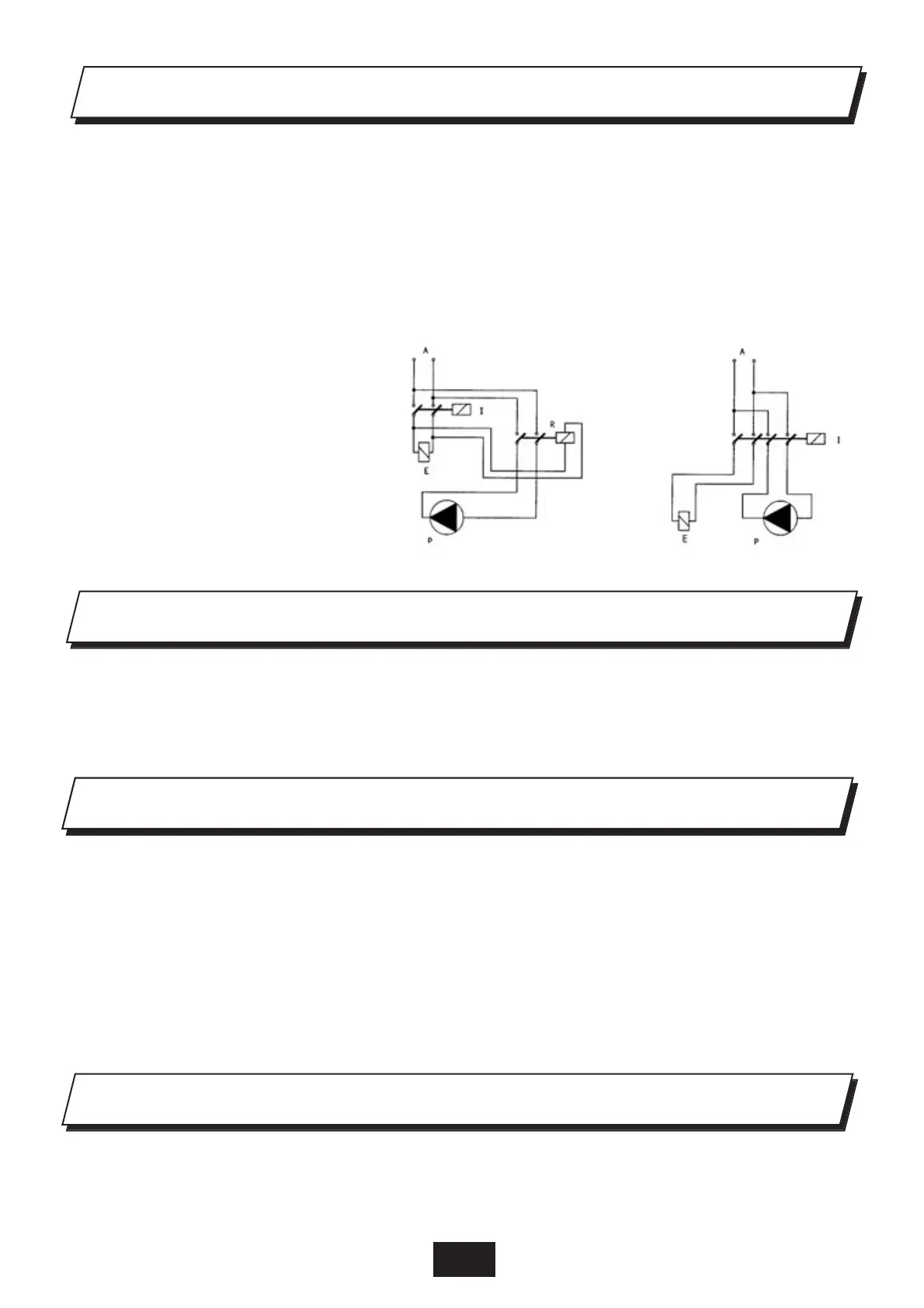
La pompe doit être raccordée à une alimentation de 230 Volts, asservie à la filtration de
la piscine.
Vérifier que le branchement de la terre soit fait dans les normes.
Veiller à ce que le réseau soit équipé d'un disjoncteur différentiel de 30 Milliampères.
Caractéristiques électriques :
Tension d'alimentation : 198 à 242 Vac - 50 Hz - Consommation moyenne 5 Watts.
Ne jamais brancher la pompe directement en parallèle à des charges inductives (ex :
moteur).
P : Pompe doseuse
R : Relais
I : Interrupteur dispositif bipolaire
E : Moteur
A : Tension d'Alimentation
I - AVANT-PROPOS
5/24
2006/05 - Indice de révision : B - code : 0029570
AMORÇAGE DU DOSEUR
Toutes les caractéristiques de la pompe doseuse série pH-/+220 sont indiquées sur l'étiquette
apposée sur le côté de la pompe. Sont indiqués sur cette dernière le modèle, la tension
d'alimentation, le débit ainsi que la pression d'utilisation. Toutes les caractéristiques de dosage
et de pression sont mesurées avec de l'eau à 20 °C.
RACCORDEMENT ELECTRIQUE ET PROTECTION
DOSAGE
Il est possible d’asservir la pompe pH-/220 à un signal externe à contact sec connecté à la
borne BNC STAND-BY sous la pompe (exemple : pressostat, contrôleur de débit, etc.) .
Dans ce cas la pompe ne fontionnera pas tant que le contact sera actif (contact fermé).
ASSERVISSEMENT
Avant d'effectuer les opérations de mise en service de la pompe doseuse, il est nécessaire
de consulter les fiches toxicologiques de sécurité du produit à doser et d'utiliser les
protections recommandées.
Une fois tous les tuyaux raccordés, maintenir la pression sur la touche ON/OFF et de ce fait, la
pompe est en mode manuel et va se mettre à fonctionner. Ouvrir le robinet d'amorçage qui se
trouve sur la façade du corps de pompe. Lorsque le liquide arrive au tuyau d'évacuation, refermer
le robinet. Relâcher la flèche, la pompe s'arrêtera.
Il est préférable d'effectuer ces opérations avec de l'eau.

Related product manuals