EasyManua.ls Logo

Protool CCP 380 - Page 75

Protool CCP 380
Print Icon
To Next Page IconTo Next Page
To Next Page IconTo Next Page
To Previous Page IconTo Previous Page
To Previous Page IconTo Previous Page
Loading...
75
La lunghezza del listello di protezione
deve essere addattata alla lunghezza
del listello di guida a catena. Non é per-
messo l´utilizzo dei componenti reci-
procamente non addattati!
Estrarre lo spinotto dell´aduzione mobi-
le dalla presa!
Attenzione! Pericolo d´infortunio sulle
parti taglienti della catena!
Attenzione! Pericolo d´infortunio sui
bordi taglienti del listello di guida della
catena!
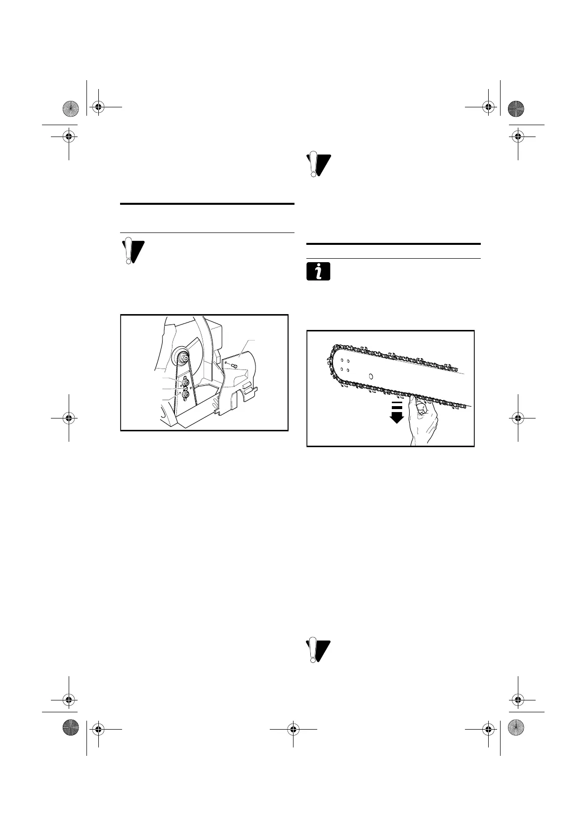
Fig. 10
- Mettere la macchina nella posizione base 0° e
togliere il coperchio di protezione (fig.10,
pos.1).
- Allentare ambi i dadi di blocco (fig.10, pos.2)
del listello di guida. Allentare la tenditura della
catena con l´aiuto del giravite e della vite ten-
ditrice (fig.10, pos.3) Togliere ambi i dadi di
blocco.
- Togliere la catena dalla ruota a catena e
toglierla insieme al listello di guida.
- Inserire una nuova catena sul listello di guida
ed inserirli nella macchina. Mantenere la cor-
retta posizione dei denti da taglio secondo la
direzione del movimento. La direzione del
movimento é segnalata dalla freccia sul
coperchio di protezione. I perni tenditori
(fig.10, pos.4) devono inserirsi nei relativi fo-
retti nel listello di guida e la catena deve in-
castrarsi esattamente sui denti della ruota a
catena di comando.
- Il montaggio di altri pezzi viene eseguito in di-
rezione opposta.
Addattare il listello di protezione e mon-
tare sullo stesso il coperchio di prote-
zione! (vedi pagina 76, Addattamento
del listello di protezione)
Controllare la corretta tensione della
catena!
Usare solo la catena il cui passo corris-
ponde al listello di guida.
I ciclo di vita del kit utensile per il taglio
dipende maggiormente dalla lubrifica-
zione e dalla tensione della catena. Per
questo motivo la tensione della catena
va controllata e regolata prima dell´ini-
zio e durante i lavori.
Fig. 11
- Posizionare la macchina in modo tale che il li-
stello di guida della catena sia in posizione
orizzontale (fig.11 ).
- Allentare legermente ambi i dadi di blocco del
listello di guida.
- Girare con l´aiuto del giravite della chiave
combinata la vite tenditrice finché la parte in-
feriore della catena si avvicina strettamente al
listello di guida.
- Controllare la corretta tensione della catena
tirando legermente la parte inferiore della ca-
tena secondo la fig. 11. Dopo aver molato la
catena, la stessa deve ritornare nella posizio-
ne originale ed avvicinarsi strettamente al li-
stello di guida.
- Dopo la regolazione della tensione della cate-
na di nuovo avvitare a fondo ambi i dadi di
blocco del listello di guida!
Le catene la tensione delle quali é stata
regolata nell´officina nel loro stato ris-
caldato devono essere allentate asso-
lutamente dopo la fine di lavori.
Sostituzione della catena e
del listello di guida a catena
2
3
4
1
Tensione della catena
kniha_Narex_CPP380.book Seite 75 Mittwoch, 31. Oktober 2001 11:53 11

Related product manuals