EasyManua.ls Logo

PVI 199 - 2 Product Description; 3 Standard Features and Equipment; Warranty; 4 Water Heater Installation

PVI 199
31 pages
Print Icon
To Next Page IconTo Next Page
To Next Page IconTo Next Page
To Previous Page IconTo Previous Page
To Previous Page IconTo Previous Page
Loading...
PLATINUM
WATER HEATER
6 PV500-37C 06/12
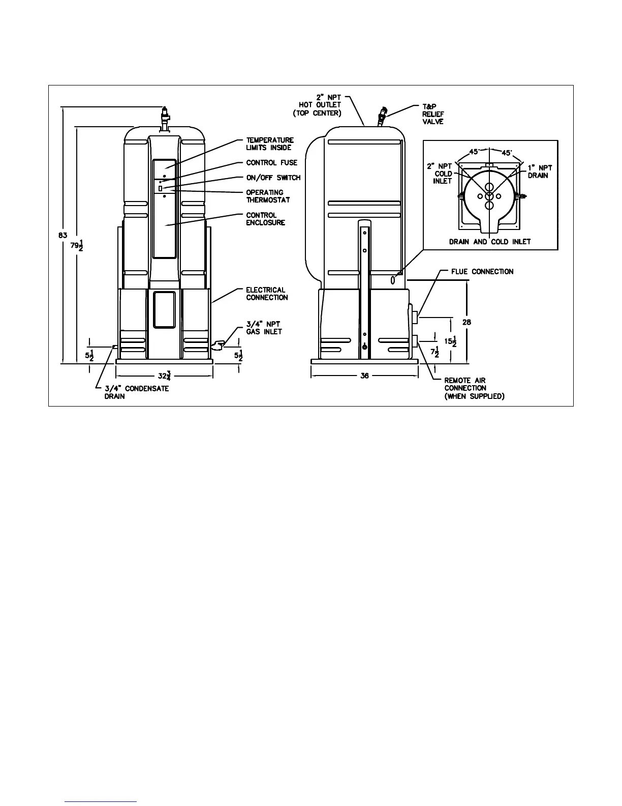
2. PRODUCT DESCRIPTION
3. STANDARD FEATURES AND EQUIPMENT
3.1 Warranty
The Factory Warranty (shipped with unit) does not apply to the improper installation or operation of the
equipment. Experience has shown that improper installation or system design, rather than faulty equipment, is
the cause of most operating problems. The warranty also excludes damage to the equipment caused by
corrosive chemicals present in the mechanical room or combustion air. (See Warranty for complete details)
4. WATER HEATER INSTALLATION
4.1 Checking Equipment Before You Install
Inspect the unit completely upon receipt from the freight carrier before signing the bill of lading. Inspect the
appliance and all accompanying parts for signs of impact or mishandling. Verify the total number of pieces
shown on packing slips with those actually received. Contact the freight carrier immediately if any damage or
shortage is detected.
4.2 Codes
The equipment shall be installed in accordance with the instructions in this manual, appliance markings and
supplemental instructions and in compliance with those installation regulations in force in the local area where
the installation is to be made. These shall be carefully followed in all cases. Authorities having jurisdiction shall
be consulted before installation is made. In the absence of such regulations, the installation shall be in
accordance with the instructions in this manual, appliance markings and supplemental instructions and in
compliance with the latest edition of the National Fuel Gas Code, ANSI Z223.1. All appliances conform to the
latest edition of the ASME Boiler and Pressure Vessel Code, Section IV, Part HLW. Where required by the
authority having jurisdiction, the installation must also comply with the Canadian Association Code, CAN/CSA-
B149.1 and/or B149.2 and/or local codes.

Related product manuals