EasyManua.ls Logo

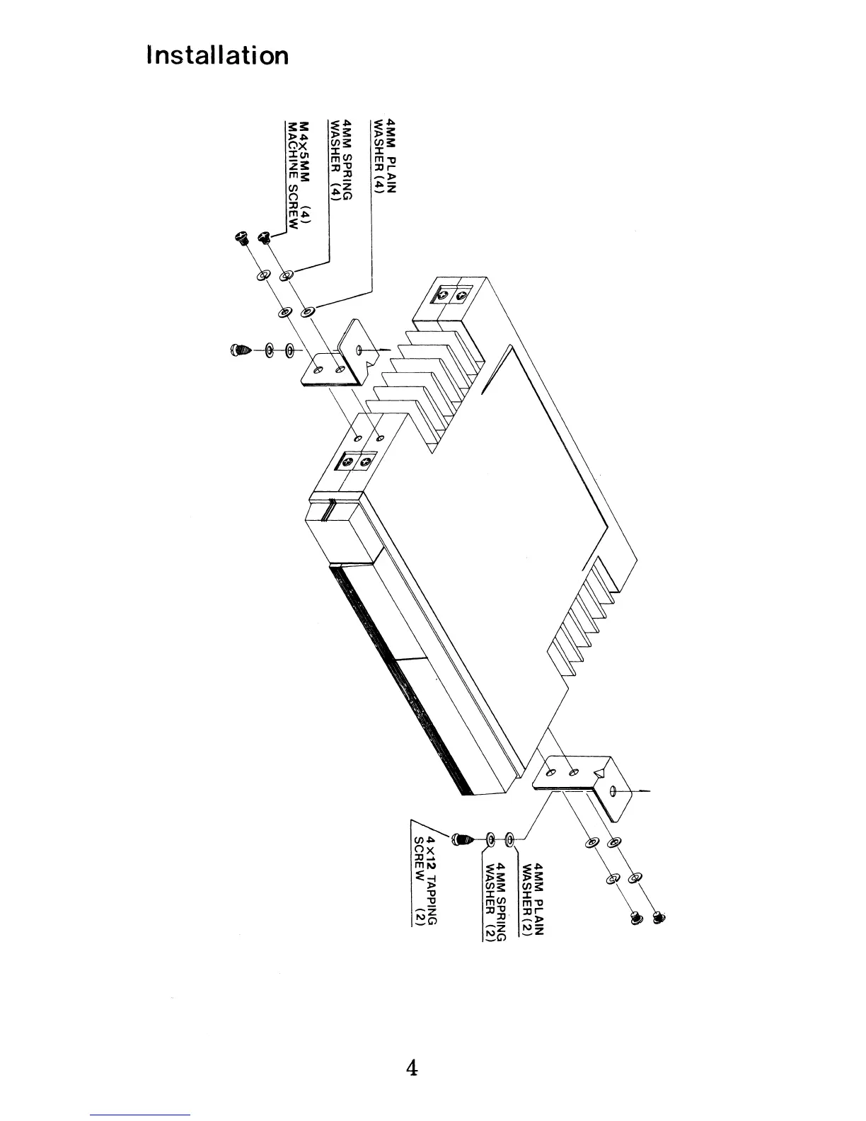
Pyramid 405VL - Installation Guide; Mounting Hardware Requirements

Pyramid 405VL
8 pages
Print Icon
To Next Page IconTo Next Page
To Next Page IconTo Next Page
To Previous Page IconTo Previous Page
To Previous Page IconTo Previous Page
Loading...

Related product manuals