EasyManua.ls Logo

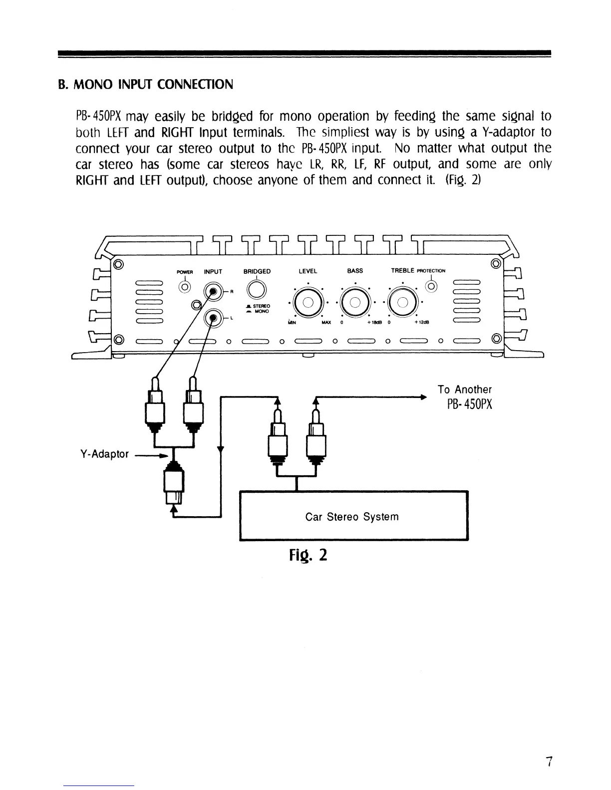
Pyramid PB450PX - Mono Input Connection

Pyramid PB450PX
12 pages
Print Icon
To Next Page IconTo Next Page
To Next Page IconTo Next Page
To Previous Page IconTo Previous Page
To Previous Page IconTo Previous Page
Loading...

Related product manuals