EasyManua.ls Logo

pyromaster H33BDVRRN - Below Grade Installations

pyromaster H33BDVRRN
32 pages
Print Icon
To Next Page IconTo Next Page
To Next Page IconTo Next Page
To Previous Page IconTo Previous Page
To Previous Page IconTo Previous Page
Loading...
15
Pyromaster© H33BDVRRN/P
10004798
Below Grade Installations
Do not back fill around snorkel. A
clearance of at least 4” (100mm) must be
maintained between the snorkel and the
soil.
STEP 6
Apply high temperature sealant to 4” (100 mm) and 7”
(175 mm) collars or the termination one inch away from
the crimped end. Guide the vent termination’s 4” and 7”
collars into their respective vent pipes. Double check
that the vent pipes overlap the collars by 2” (50mm).
Secure the termination to the wall with screws provided
and caulk around the wall plate to weatherproof. (Fig.
26)
X
X
CFM138
Fig. 26 Install vent terminations.
STEP 7
Support the horizontal pipes every 36” (914mm) with
metal pipe straps. Make sure that the horizontal vent
pipe is installed on a level horizontal plane.
STEP 8
Re-check the fireplace to make sure that it is levelled,
properly positioned, and nailed or screwed to the floor.
If applied, the fireplaces adjustable frame drywall strips
(nailing flanges) should be fastened. Refer to “Framing
& Finishing”.
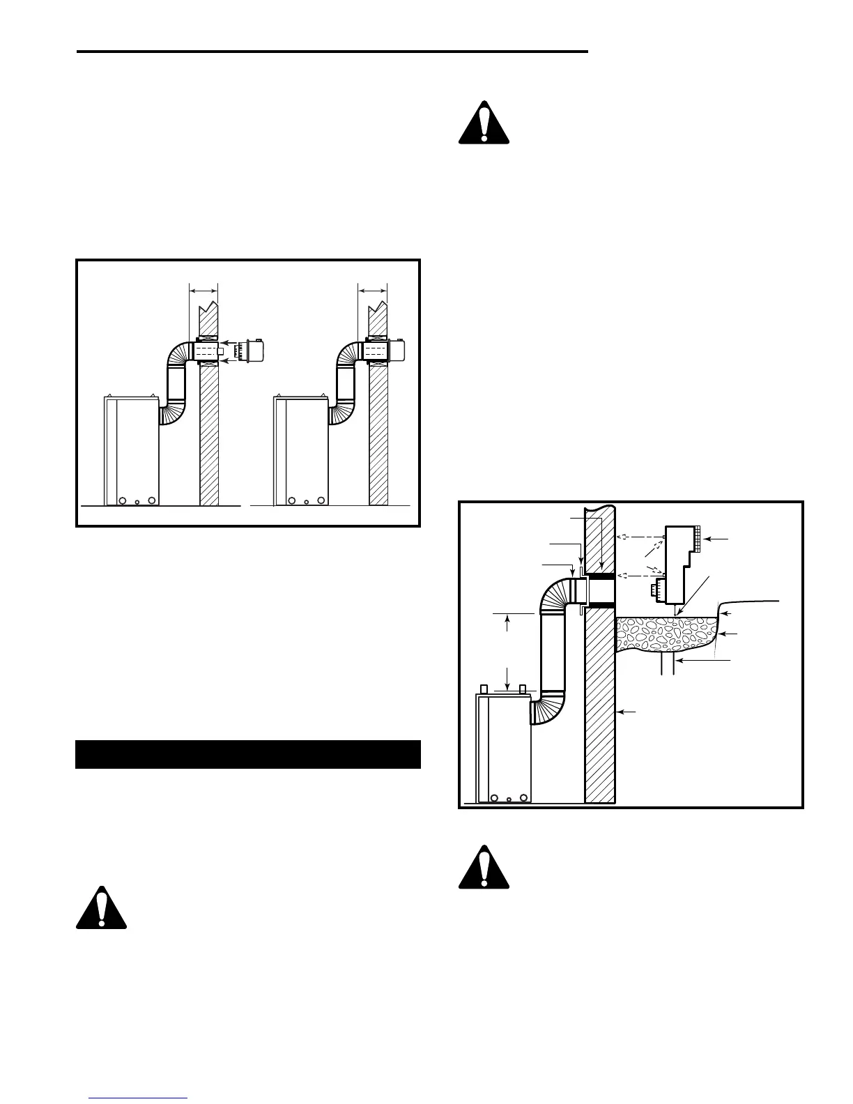
When it is not possible to meet the required vent
terminal clearances of 12” (305mm) above grade level
a snorkel vent kit #7DVSKS is required. It allows
installation depth of down to 7” (178mm) below grade
level. The 7” is measured from the center of the
horizontal vent pipe as it penetrates through the wall.
If venting system is installed below
ground, we recommend a window well
with adequate and proper drainage.
Ensure sidewall venting clearances are observed.
The maximum horizontal run with 24”
vertical rise is 36” (914 mm) from the
back of the fireplace to the face of the
exterior wall. See vent graph (Page 11)
for extended horizontal run if the vertical
rise exceeds 24” (610mm).
1. Establish vent hole through the wall. (Fig. 21)
2. Remove soil to a depth of approximately 16"
(406mm) below base of snorkel. Install window well
(not supplied). Refill hole with 12" (305mm) of
coarse gravel leaving a clearance of approximately
4" (100mm) below snorkel. (Fig. 27)
3. Install vent system. Refer to Page 14, Steps 2
through 5.
4. Ensure a watertight seal is made around the vent
pipe coming through the wall.
5. Apply high temperature sealant caulking (supplied)
around the 4” and 7” 7DVSKS’s snorkel collars.
6. Slide into the vent pipe and secure to the wall.
7. Level the soil to maintain a 4" (100mm) clearance
below snorkel. (Fig. 27)
Zero Clearance
Sleeve if Required
Firestop
7” Pipe
7DVSKS
(Snorkel)
Minimum 4”
Clearance
Window Well
Gravel
Drain
Foundation Wall
Ground
FP1220
24”
(608mm)
Minimum*
*A minimum of 24”
(608mm) vertical pipe
must be installed when
using the 7DVSKS kit.
Fig. 27 Below grade installation.

Table of Contents

Related product manuals