EasyManua.ls Logo

QED AP4+ - Page 21

Default Icon
54 pages
Print Icon
To Next Page IconTo Next Page
To Next Page IconTo Next Page
To Previous Page IconTo Previous Page
To Previous Page IconTo Previous Page
Loading...
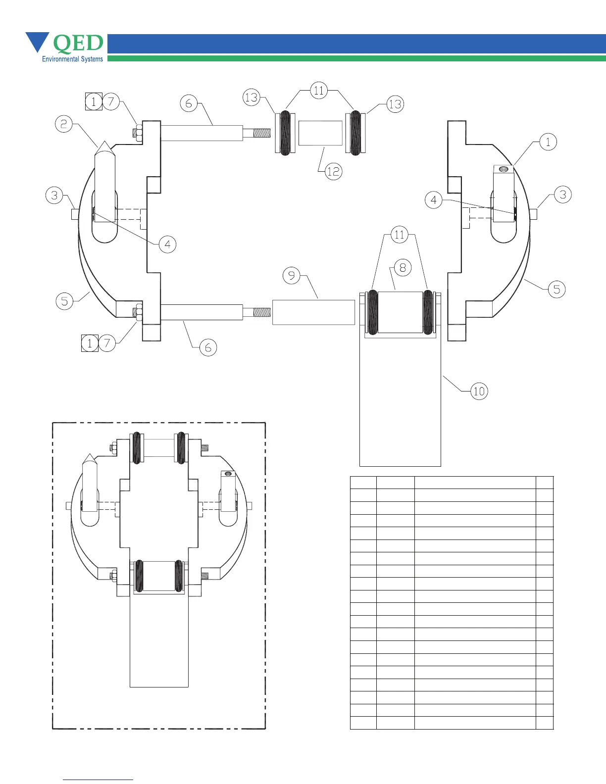
Figure 12 - Exploded View of AP4+ Lever Assembly
Parts Assembled
18
ITEM NO. PART NUMBER DESCRIPTION
QTY.
1
1
1
1
1
1
2
1
2
1
2
1
3
303 SS 120 P.SI EXHAUST POPPET-LONG
303 SS 120 P.SI EXHAUST POPPET-SHORT
303 SS 120 P.SI EXHAUST POPPET-LDD
2
4
120 P.SI INTAKE POPPET CONNECTOR-LONG
120 P.SI INTAKE POPPET CONNECTOR-SHORT
120 P.SI INTAKE POPPET CONNECTOR-LDD
2
5
301654
4-40 SS SMALL PATTERN NUT LEVER CONNECTING
2
6
200328
PH 15-17 MO POPPET PIN RETAINING E-CLIP
2
7
200495
316 SS POPPET PIN
4
8
200330
200359
200665
200359
200337
200337
200336
201465
200497
1
9
201053
VITON BUMPER O-RING
1
10
200327
200327
206008
303 SS LEVER CONNECTING PIN
1
10
1
10
1
11
200496
PVDF CONTROL ROD ROLLER
4
12
201052
1
13
201458
316 SS CONTROL ROD ADAPTER BUSHING
2
PVDF LEVER /BUSHING ASSEMBLY
17-7 COUNTERWEIGHT ROLLER
303 SS COUNTERWEIGHT-LONG
303 SS COUNTERWEIGHT-SHORT
303 SS COUNTERWEIGHT-LDD
316 SS COUNTERWEIGHT BUSHING

Related product manuals