EasyManua.ls Logo

QSC 8 ohm capable) - Page 19

QSC 8 ohm capable)
52 pages
Print Icon
To Next Page IconTo Next Page
To Next Page IconTo Next Page
To Previous Page IconTo Previous Page
To Previous Page IconTo Previous Page
Loading...
ES
19
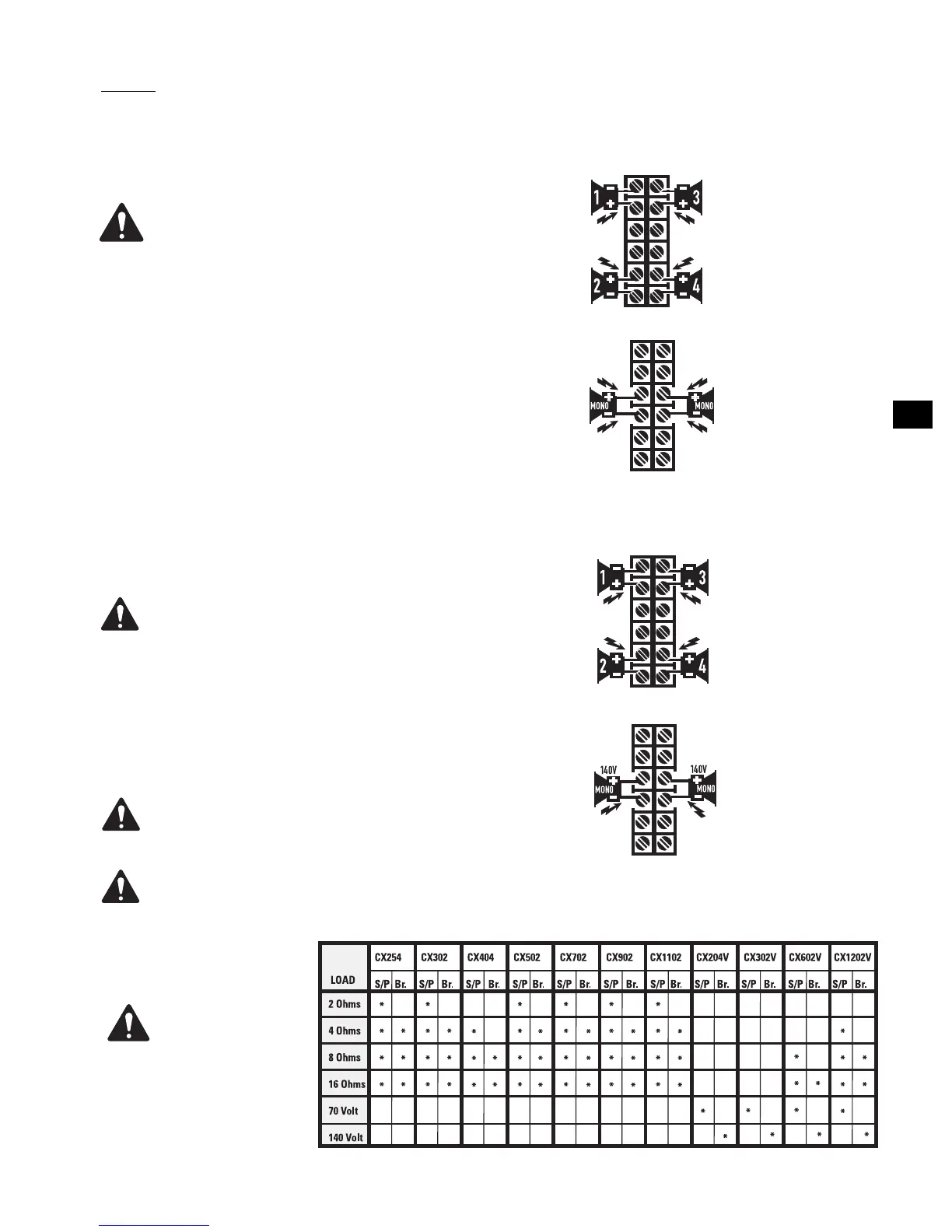
Conexión en estéreo o
paralelo de 70V: Cada zona
de 70V se conecta a su
canal respectivo.
Asegúrese de que todas las
conexiones del altavoz
mantengan la polaridad
adecuada.
Conexión puenteada de
140V: Conecte cada par
puenteado a un circuito de
140V como se muestra.
Revise que la polaridad sea
correcta.
Salidas
Las conexiones del cableado se muestran en la parte posterior del chasis. Note
detenidamente las marcas de polaridad, que están configuradas para facilitar las
conexiones del modo puenteado. En el ejemplo se muestran los modelos de cuatro
canales; los modelos de dos canales son similares.
¡ADVERTENCIA SOBRE LA SEGURIDAD DE LOS TERMINALES DE SALIDA!
No toque los terminales de salida mientras el amplificador está encendido.
Asegúrese de que todas las conexiones con el amplificador estén
apagadas. ¡Riesgo de energía peligrosa!
Salidas de baja impedancia
Modo estéreo y en paralelo: Conecte cada altavoz a su propio canal del amplificador,
como se muestra en la etiqueta del chasis. Los conmutadores de configuración de modo
deben ajustarse en modo estéreo o paralelo.
Modo puenteado: El modo puenteado configura el par de canales para que excite una
sola carga de alta potencia del altavoz. Los conmutadores de configuración de modo se
deben ajustar en el modo puenteado. Use sólo la entrada y el control de ganancia del
primer canal. Ajuste el control de ganancia del segundo canal al mínimo.
Salidas distribuidas (modelos “V”, 70V/140V)
Modo estéreo y en paralelo: Conecte cada circuito de 70V a su propio canal del
amplificador, como se muestra en la etiqueta del chasis. Los conmutadores de
configuración de modo deben ajustarse en modo estéreo o paralelo.
Salida de 70V: ¡Riesgo de energía peligrosa! Se debe usar un cableado
Clase 2 para las salidas de 70V.
Modo puenteado: El modo puenteado configura el par de canales para que excite a un
solo circuito de sonido de 140V/200V. Los conmutadores de configuración de modo se
deben ajustar en el modo puenteado. Use sólo la entrada y el control de ganancia del
primer canal. Ajuste el control de ganancia del segundo canal al mínimo. Conecte la
carga como se muestra en la etiqueta del chasis.
PRECAUCIONES CON EL MODO PUENTEADO DE 140V:
El cableado de Clase 3 se debe usar para las salidas monopuenteadas de
140V.
Conecte sólo circuitos de sonido distribuido de 140V en modo puenteado.
¡No use cargas de 70V en modo puenteado! Use los canales de modo
estéreo o paralelo para excitar cargas de 70 V. 140V es el mínimo para una
operación de modo puenteado.
Conexión en estéreo o en
paralelo de baja
impedancia: Cada carga de
altavoz se conecta a su
canal respectivo. Se muestra
el modelo de cuatro canales.
Asegúrese de que todas las
conexiones del altavoz
mantengan la polaridad
adecuada.
Conexión puenteada de baja
impedancia: Cada carga del
altavoz se conecta a un par
de canal puenteado. Se
muestra el modelo de cuatro
canales. Revise que la
polaridad sea correcta.
Cargas clasificadas por
modelo
¡Asegúrese de que el
amplificador modelo que
está usando esté
clasificado para la carga!
Un asterisco (*) indica que el
modelo está clasificado para la
carga.
(S/P)= Modo estéreo/paralelo
(Br.)= Modo puenteado

Related product manuals