EasyManua.ls Logo

Quick ARIES - Características Técnicas

Quick ARIES
Print Icon
To Next Page IconTo Next Page
To Next Page IconTo Next Page
To Previous Page IconTo Previous Page
To Previous Page IconTo Previous Page
Loading...
300 / 500 W ARIES - FLAIR - / D 500 W RIDER - / D
54
58
82
170
290
114
74
135
114
82
290
76
Ø 120
128
137
28
CARACTERÍSTICAS TÉCNICAS
EJEMPLO : FLAIRW312D
FLAIRW 3 12 D

EJEMPLO : RIDER524
RIDER 5 24

CÓMO SE LEE EL CÓDIGO DEL MOLINETE:
E
a b c d a b c d
Nombre de la serie:
[ ARIES ] = Base oval de Aluminio
[ FLAIR B ] = Base oval de fibra de vídrio negro
[ FLAIR W ] = Base oval de fibra de vídrio blanca
[ RIDER ] =Base redonda
Potencia motor:
[ 3 ] = 300 W
[ 5 ] = 500 W
Tension alimentación motor:
[ 12 ] = 12 V
[ 24 ] = 24 V
Campana:
[D] = con campana
[
] = sin campana
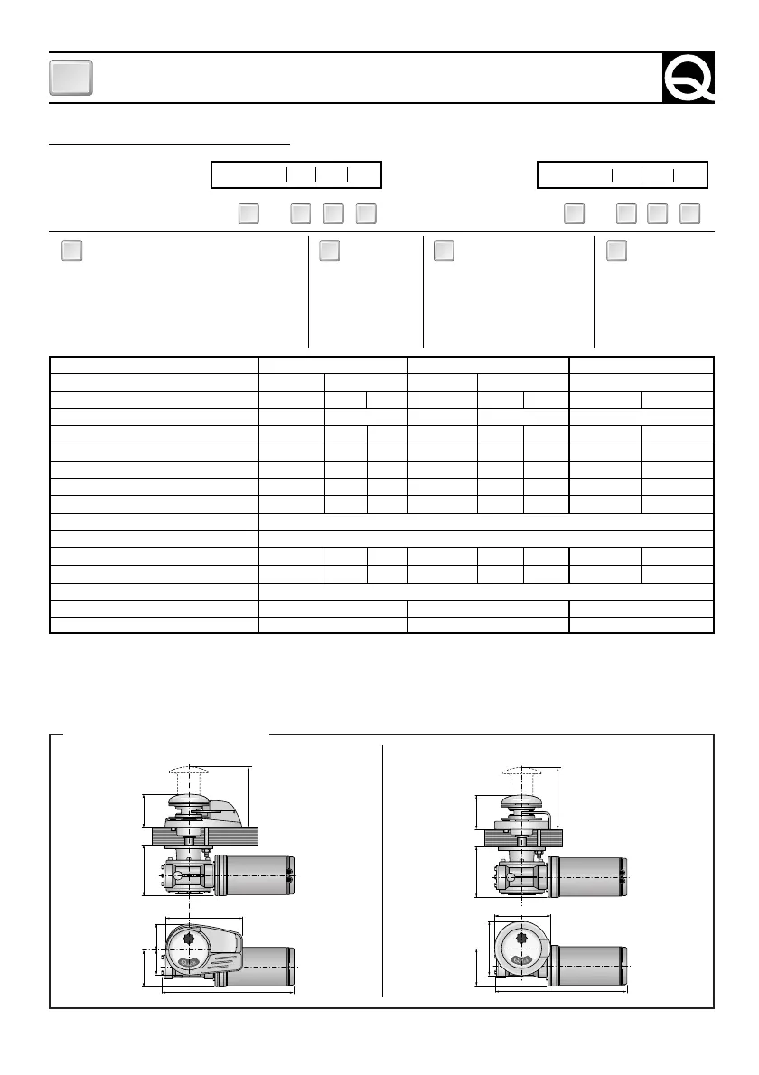
ARIES
/ D
300 W 500 W
12 V 12 V 24 V
350 kg 660 kg
100 kg 200 kg 220 kg
30 kg 65 kg 70 kg
45 A 80 A 40 A
14,7 25,2 25,2
11,9 18,2 19,3
10 mm
2
16 mm
2
10 mm
2
40 A 60 A 40 A
7,6 kg
8,7 kg
FLAIR
/ D
300 W 500 W
12 V 12 V 24 V
350 kg 660 kg
100 kg 200 kg 220 kg
30 kg 65 kg 70 kg
45 A 80 A 40 A
14,7 25,2 25,2
11,9 18,2 19,3
10 mm
2
16 mm
2
10mm
2
40 A 60 A 40 A
7,3 kg
8,4 kg
RIDER
/ D
500 W
12 V 24 V
660 kg
200 kg 220 kg
65 kg 70 kg
80 A 40 A
25,2 25,2
18,2 19,3
16 mm
2
10 mm
2
60 A 40 A
7,4 kg
8,5 kg
MODÈLO
POTENCIA MOTOR
Tensión alimentación motor
Tiro instantáneo máximo
Carga máxima de trabajo
Carga de trabajo
Absorción de corriente a la carga de trabajo
(1)
Velocidad máxima de recuperación
(2)
m/min
Velocidad de recuperación a la carga de trabajo
(2)
m/min
Cadena soportada
(3)
Cable soportado
Sección mínima cables motor
(4)
Interruptor de protección
(5)
Espesor de cubierta
(6)
Peso - modelo sin campana
Peso - modelo con campana
(1)
Después de un primer periodo de utilización.
(2)
Medidas efectuadas con barbotín para cadena de 6 mm.
(3)
En todos los modelos se suministra de serie el barbotín para una cadena de 6 mm.; bajo petición se pueden montar los barbotín para las cadenas indicadas en la tabla.
(4)
Valor mínimo aconsejado. Calcular la sección del cable en función de la longitud de la conexión.
(5)
Con interruptor especifico para corrientes continuas (DC) y retraso (magneto-térmico o magneto-hidráulico).
(6)
Bajo petición se pueden suministrar ejes y prisioneros para espesores de cubierta mayores.
LA QUICK SE RESERVA EL DERECHO DE APORTAR MODIFICACIONES EN LAS CARACTERÍSTICAS TÉCNICAS DEL APARATO Y EN EL CONTENIDO DE ESTE MANUAL SIN OBLIGACIÓN DE AVISAR PREVIAMENTE.
6 mm DIN 766 ( 7 mm - 1/4” DIN 766 )
12 mm - 14 mm - 16 mm - 1/2” - 9/16” - 5/8”
20 ÷ 30 mm
DIMENSIONES DE LOS MODÉLOS (mm)
a b c d

Related product manuals