EasyManua.ls Logo

RadiSys EPC-8A - EXP-BP5 Subplane; Figure E-5. EXP-BP5 Subplane

RadiSys EPC-8A
122 pages
Print Icon
To Next Page IconTo Next Page
To Next Page IconTo Next Page
To Previous Page IconTo Previous Page
To Previous Page IconTo Previous Page
Loading...
Appendix E: Subplanes
69
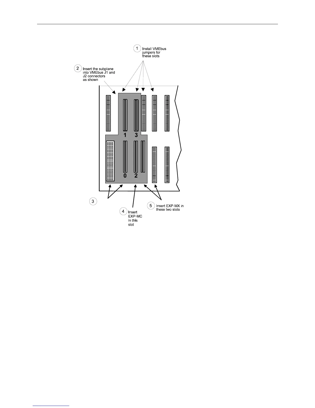
EXP-BP5 Subplane
Figure E-5. EXP-BP5 Subplane
The EXP-BP5 subplane is used to
build a system with a processor, four
EXM modules, and an EXP-MS
Mass Storage module. The
EXP-BP5 has six connectors on the
front side and five on the rear.
After jumpering the backplane, plug
the subplane into the VMEbus
backplane such that the P2 connector
on the back of the 4-row DIN is
pressed into the J2 connector of the
left-most VMEbus slot that the
EPC-8A subsystem will occupy.
The EXM slot numbers are shown in
the drawing.
Insert
EPC-8A
in these
two slots

Table of Contents