EasyManua.ls Logo

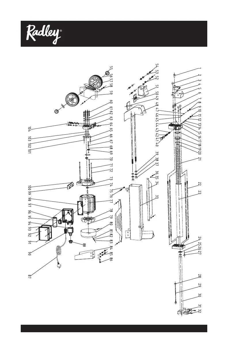
RADLEY WS5T - Parts Schematic

RADLEY WS5T
20 pages
Print Icon
To Next Page IconTo Next Page
To Next Page IconTo Next Page
To Previous Page IconTo Previous Page
To Previous Page IconTo Previous Page
Loading...
13
5-Tn Ecrc Lg Slte - Onr's Mna
PARTS SCHEMATIC