EasyManua.ls Logo

Raytools BT210 Series - Gas Jet Tip Centering; QCS Beam Centering

Raytools BT210 Series
12 pages
Print Icon
To Next Page IconTo Next Page
To Next Page IconTo Next Page
To Previous Page IconTo Previous Page
To Previous Page IconTo Previous Page
Loading...
V1.6
RayTools AG © Copy Right
6 | 11
www.raytools.net
BT210 SERIES 800W Laser Cutting Heads User Manual
BT210 QCS connector input manual
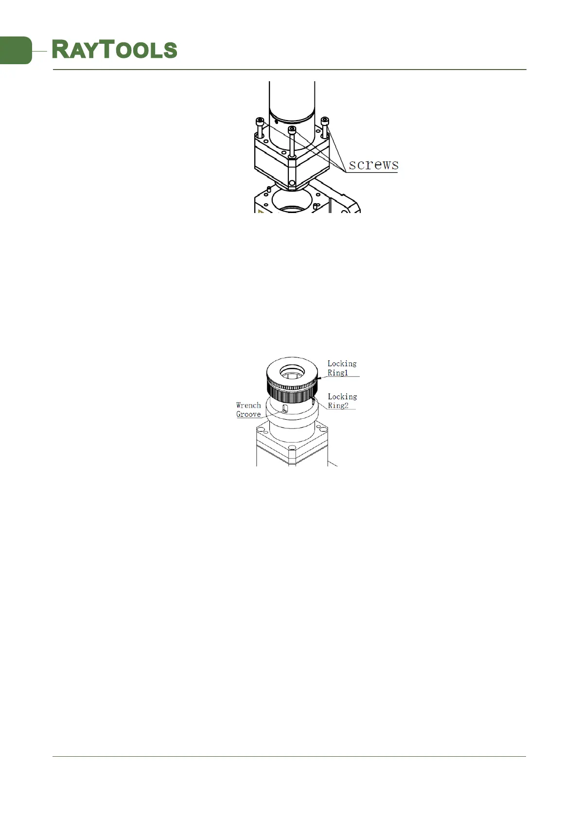
(1) See Figure 5, loosen locking ring 1 and 2.
(2) Input the fiber connector horizontally
(3) Tighten locking ring 1 and 2. Use a wrench if necessary.
2.5 Gas Jet Tip Centering
The best cutting quality to a great extent relies on the centering lens. If the lens is not in the middle, the beam may
touch the tip or the inner wall and lead to deformation because of high temperature.
When the gas jet tip is changed or the cutting quality is not good, the lenses should be centered.
Tip centering of BT210 is accomplished by adjusting the X-Y position of the collimating lenses.
2.5.1 QCS Beam Centering
There are four set screws in the four corners. Divide them into two groups and each group has two screws.
Set the screws in pair: tighten one and loosen the other.
Centering method
Loosen the adjuster screw in the opposite direction you want the beam to move. Then tighten the adjuster
screw that is opposite of the screw that is opposite of the screw that was just loosened.
Use two groups of screws until the beam is centered in the tip.
Figure 5. Fiber Orientation
Figure 4. Fiber Orientation