EasyManua.ls Logo

RCA BRC3109 - Control Reference Guide; Remote Control

RCA BRC3109
24 pages
Print Icon
To Next Page IconTo Next Page
To Next Page IconTo Next Page
To Previous Page IconTo Previous Page
To Previous Page IconTo Previous Page
Loading...
3
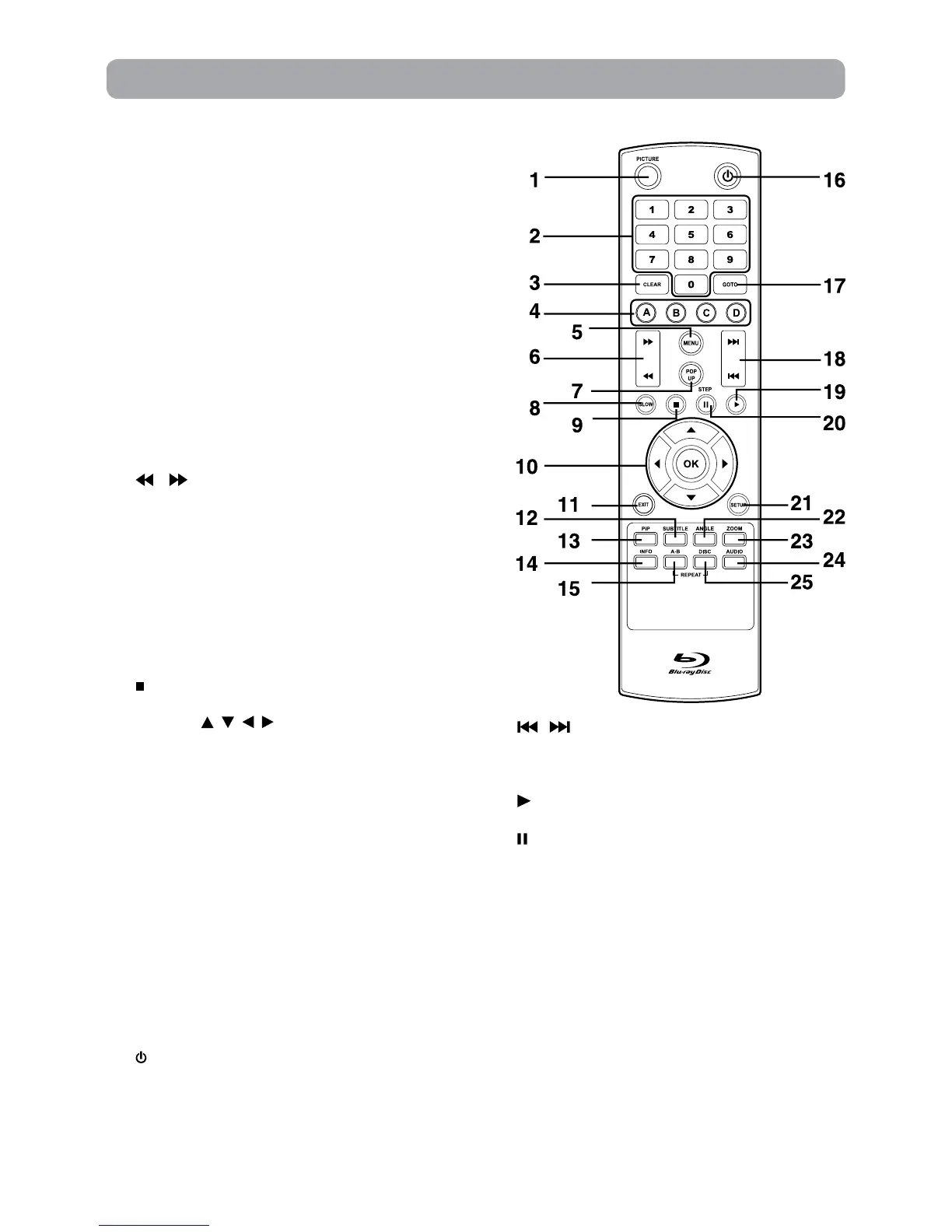
1. PICTURE Button
Press to adjust brightness, contrast, backlight &
Screen.
2. Number (0-9) Buttons
3. CLEAR Button
Clear input selections and cancel certain
playback functions.
4. Color buttons
When playing a Blu-ray Disc that has a Java
application, press to control playback. For more
information, see the documentation that comes
with the Blu-ray Disc.
5. MENU Button
Press to open or close the Disc’s menu.
6. / Buttons
Fast reverse or fast forward playback.
7. POP UP Button
During Blu-ray Disc playback, press to open
a menu that lets you control Blu-ray Disc
playback.
During DVD playback, press to open the DVD
title menu (if available).
8. SLOW Button
Press to perform slow forward playback of Blu-
ray Discs or DVDs.
9. STOP Button
Press to stop playback.
10. CURSOR ( , , , ) Button
Press to highlight selections on a menu screen
and adjust certain settings.
OK Button
Press to confirm selections on a menu screen.
11. EXIT Button
12. SUBTITLE Button
Press to select one of the subtitle languages
programmed on a Blu-ray Disc or DVD.
13. PiP Button
Press to turn PiP (picture in picture) mode on
or off. This function is only available on certain
Blu-ray Discs.
14. INFO Button
Accesses the info menu.
15. A-B REPEAT Button
Press to perform point-to-point repeat playback
on a DVD or CD.
16. Button
Press to turn on the unit or put it in standby
mode.
17. GOTO Button
Press to skip directly to a specific location on a
Blu-ray Disc or DVD.
18.
/ Skip Buttons
Press to move backwards or forward through
titles, chapters or tracks on a Blu-ray Disc or
DVD.
19. PLAY Button
Press to start playback.
20. PAUSE/ STEP Button
Press to pause playback, frame advance.
21. SETUP Button
At stop mode, press to open or close the SETUP
menu screen.
22. ANGLE Button
Press to switch the camera angle of the video
presentation when scenes with multiple camera
angles are recorded on a Blu-ray Disc or DVD.
23. ZOOMButton
Zoominanimage.
24. AUDIO Button
Press to select one of the audio sound tracks
programmed on a Blu-ray Disc or DVD.
25. DISC REPEAT Button
Press to repeat chapter or title of a Blu-ray Disc
or DVD. Press to repeat single track or whole
CD.
Control Reference Guide
Remote Control

Related product manuals