EasyManua.ls Logo

RCA RPJ133-B

RCA RPJ133-B
16 pages
To Next Page IconTo Next Page
To Next Page IconTo Next Page
To Previous Page IconTo Previous Page
To Previous Page IconTo Previous Page
Loading...
Press buttons to select On / Off.
. Use to
Press buttons to select On / Off.
Use to select different sound effect Standard / Music /
select and to adjust
Press /
Use to select different picture effect to Medium / Soft /
User / Vidid. Use or to select Contrast / Brightness
/ Color / Sharpness digit If chose User item. Follow below
figure.
Use to select different color temperature to Medium /
Warm / User / Cool. Use or to select Red / Green /
Blue digit If chose User item. Follow below figure.
Use buttons to select screen ratio AUTO / 4:3 / 16:9.
Follow below figure.
Use buttons to select Off / Low / Middle / High / Default.
Use buttons to select AutoAdjust / Horizon Pos. / Vertical
Pos. / Size / Phase. Use or to select Horizon Pos. /
Vertical Pos. / Size / Phase digit. Follow below figure
Use button to select different zoom scale digit 75% -
100%
Press buttons repeatedly to select Front / Rear Ceiling /
Front Ceiling / Rear
3. Use the button to SOUND menu as right side
4. Use the button to select Bluetooth column.
5. Press the button to select “ON”.
1. Press the button to turn on unit.
Follow the below picture to connect audio cable and device.
1. Press the button to standby of your projector before connection.
2. Use audio cable to connect follow the below figure.
3. After connect and turn on both units. Your projector sound from external device now.
4. After using, turn off both unit.
12 13 14
15
16
17
18 19 20
Connect HDMI Show The Image On Projector Screen
Connect AV Show The Image On Projector Screen
HDMI CABLE
VIDEO PLAYER
CABLE NOT INCLUDED
Refer to the following picture to connect a set top box, a BD/DVD player or a streaming
player to the HDMI input.
1. Press the button to standby mode before connect HDMI cable.
2. After connection, press the button to turn on unit and power indicator will light
GREEN
3. Press the / SOURCE button to home screen, use buttons to select HDMI
1 or HDMI 2 icon and press the button to enter HDMI mode. The video from the
connected device will be shown on projector screen.
4. Press the button to turn unit to standby.
Follow the below picture to connect AV cable and device.
1. Press the button to standby mode before connect AV cable.
2. After connect, press the
button to turn on unit and power indicator will light GREEN
3. Press the
/ SOURCE button to home screen, use buttons to select AV icon
and press the
button to enter AV mode. The video of AV device will show on
projector screen.
4. Press the
button to turn the unit to standby.
Important Note:
If there is no sound from the internal speakers when playing media contents from a
set top box, BD/DVD or streaming players connecting to the HDMI input, please
check the set top box or the player's digital audio settings and make sure it is set to
"PCM Stereo" mode.
VIDEO CABLE
LEFT CHANNEL
RIGHT CHANNEL
Video signal cable : Yellow
The left channel signal lines: White
The right channel signal lines: Red
OK
OK
Connect VGA
Show The Image On Projector Screen
Follow the below picture to connect VGA cable and device.
Please refer to the following table to adjust the output signal from computer
TLJpe ReƐŽůƵƟŽŶ FrĞƋƵĞŶĐLJ Field FrĞƋƵĞŶĐLJ
PC
VGA 640x480
31.5 60
34.7 70
37.9 72
37.5 75
SVGA 800x600
31.4 50
35.1 56
37.9 60
46.6 70
48.1 72
46.9 75
XGA 1024x768
40.3 50
48.4 60
56.5 70
NOTE: VGA connections do not support audio. You will need to use the laptop or computers connected
speakers
To VGA PORT
NOTE BOOK
DECK TOP
OR
COMPUTER CABLE
COMPUTER CABLE
1. Press the button to standby mode before connect VGA cable.
2. After connect, press the button to turn on unit and power indicator will light
GREEN.
3. In home screen, use buttons to select VGA icon and press the button to
enter VGA mode. The video of VGA device will show on projector screen
4. Press the button to turn the unit to standby.
OK
Connect Audio Output
( Aux Out / Line Out / Earphones)
Install USB Device And TF card (Micro SD Card)
Follow the below picture to install USB and TF card
Turn off the unit before install USB / TF card.
AUDIO CABLE
TF
FT
USB
Important Note:
If there is no sound from the stereo audio output when playing media contents from a
set top box, BD/DVD or streaming players connecting to the HDMI input, please check
the set top box or the player's digital audio settings and make sure it is set to "PCM
Stereo" mode.
Using TF Card And USB Playback (Media Player)
Sub-Menu on Movie screen
1. When movie playback, press
the button and more function
screen show on lower (figure 1).
2. Use the button to select
icon and press the button to
play special function.
Figure 1.
Sub-Menu on Photo screen
1. When photo playback, press
the button and more
function screen show on lower
(figure 2).
2. Use the button to select
icon and press the button to
play special function.
Figure 2.
Sub-Menu on Music screen
1. When music playback, press
the button and more
function screen show on lower
(figure 3).
2. Use the button to select
icon and press the button to
play special function.
Figure 3.
Install USB / TF device:
1. Press the button to standby before install USB / TF card.
2. Install the USB device into USB port / Install the TF device into TF slot.
3. After install, press the button to turn on unit and the power indicator light GREEN.
4. In home screen, use buttons to select PHOTO / MUSIC / MOVIE icon and
press the button to enter.
5. Use the button to select C and press button to enter. Note: if both USB
device and TF card install, unit will assign the first installed device as C and the
second installed device as D.
6. Use buttons to search the correct file to preview and press the button to
playback file.
NOTE: Remove USB / TF device, press the button to standby mode FIRST.
OK
OK
OK
OK
OK
OK
OK
OK
OK
OK
OK
OK
OK
OK
OK
Using Bluetooth Playback
Pairing is the term used when two Bluetooth devices are connected wirelessly for the first
time. This allows the devices to see each other and sets up a one to one communication
channel between both devices.
Bluetooth Connection
2. Press the / MENU button to enter the menu screen.
figure.
6. Turn on your External Bluetooth Speaker and select to Bluetooth pairing mode
7. A few seconds, you hearing “do” sound that your unit and external Bluetooth speaker
connected.
8. After connection completed, the unit sound to External Bluetooth speaker.
Disconnect the Bluetooth
1. Press the / MENU button to enter the menu screen.
2. Use the button to select Sound menu.
3. Use the button to select Bluetooth column.
4. Press the button to turn “Off” that the Bluetooth disconnect.
Auto Volume Off
Balance 0
Sound Mode Standard
Bluetooth Off
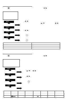
Using Projector Menu 1
MENU button to enter projector menu, press buttons to select PICTURE
menu.
This Picture menu showed on right upper of view screen.
Color temper… (temperature)
Customer define Parameter
red 0-100
blue 0-100
green 0-100
Picture Mode
Customer define Parameter
Contrast 0-100
Brightness 0-100
Color 0-100
Sharpness 0-100
Aspect Ratio
AV mode Auto, 4:3, 16:9,
Zoom1 ,Zoom2
HDMI mode Auto, 4:3, 16:9, Zoom1,
Zoom2, Just Scan, Point
to Point
VGA mode Auto, 4:3, 16:9, Point To
Point
USB mode Auto, 4:3, 16:9
TF Card mode Auto, 4:3, 16:9
PC Setting (Active in VGA mode)
Customer define Parameter
(Press to set)
Horizon Pos. 0-100
Vertical Pos. 0-100
Size 0-100
Phase 0-100
Noted: PC setting menu is activated
in VGA mode only.
USE
TO SELECT
USE
TO SELECT
USE
TO SELECT
Picture Mode Medium
Color Temperature Medium
Aspect Ratio 16:9
Noise Reduction Middle
USE
TO SELECT
PRESS OK
PRESS OK
PRESS OK
PRESS OK
Picture Mode
Medium
Color Temperature Medium
Aspect Ratio
16:9
Reduce Display Size 100%
USE
USE
TO SELECT
PRESS OK
Reduce DisplaySize 100%
Projection Direction Front
USE
USE
TO SELECT
PRESS OK
Projection DirectionFront
Noise ReductionMiddle
PC Setting
PRESS OK
USE
USE
TO SELECT
PC Setting
Using Projector Menu 2
Press / MENU button to enter projector menu, press buttons to select SOUND
menu.
Press / MENU button to enter projector menu, press buttons to select OPTION
menu.
This sound menu showed on right upper of view screen.
Movie / Sports / User
Bass / Treble digit if chose User item. Follow below figure to set
digit.
Use to select Balance level to -50 to +50.
^ŽƵŶĚ DŽĚĞ- User Parameter
Treble 0-100
Bass 0-100
Using Projector Menu 3
This OPTION menu showed on right upper of viewing
screen.
Use or button to select different language.
Follow below figure
Use buttons to select Y or N. If choose “Y” that your
unit will go to factory default setting.
Press buttons repeatedly to select different Color Range
0~255 / 6~235 / Auto ((Noted: this setting menu is activated
in HDMI mode only)
For service center use only.
USE
TO SELECT
PRESS OK
PRESS OK
USE
TO SELECT
OK
Ba
lanc
e 0
Sound ModeStandard
Auto Volume Off
Balance 0
Sound Mode Standard
USE
TO SELECT
PRESS OK
PRESS OK
Auto Volume Off
Bluetooth Off
USE
TO SELECT
PRESS OK
PRESS OK
Bluetooth Off
OSDLanguage English
Restore Factory Default
Color Range 0~255
Restore FactoryDefault
OSDLanguage English
USE
TO SELECT
PRESS OK
t
PRESS OK
USE
TO SELECT
ColorRange
0~255
Software Update (USB)
USE
TO SELECT
PRESS OK
t
PRESS OK
USE
TO SELECT
Software Update (USB)
Czech English France MagLJar PŽlƐŬiRŽmnete ^ƵŽŵi
DansŬ EƐƉĂŽlHrvaƚƐŬi Nederlands PŽƌƚƵŐƵĞs ^ůŽvenina
Japanese
SimpleCh...
Deutsch ItalianŽEŽrsŬ PLJccŬ SrpsŬŝ
KŽrean
N
N
E
v Ŭ
SvensŬa
Specifications
Light Source Type
LED
Display Native Resolution
1280 x 720 RGB
HDMI Input Supported
Video Resolution.
1080p , 1080i , 720p, 576i , 480p, and 480i
Power Consumption
80W
Brightness Output
White light output ANSI: 168 Lumens
White brightness output ANSI: 116 Lumens
Included Adapter Input AC100-240V, 50/60Hz
Output DC26V, 2.7A
Projection Size 36-150 inch
Input Port
AV/ VGA / HDMI
USB Port Support USB device up to 32GB
Support format Mpeg1, Mpeg2, Mpeg4, mp3, Jpeg
TF Card Support SD card up to 32GB
Support format Mpeg1, Mpeg2, Mpeg4, mp3 , Jpeg
Net Weight 1.4 KG
Product Dimensions
240 x 184 x 96 mm
1.4KG
Specifications are typical, individual units might vary. They are subject to continuous
improvement without notice and without incurring any obligation.
Pause
Prev.
Next
Stop
Rep...
Rotate
Zoo...
Mov...
Slid...
Zoo...
Info
Rotate
laylist
P
Ran...
R
90
90
Music
Pause
FB
FF
Prev.
Next
Stop
Rep...
Ran...
Info
Slow...
Step...
Got...
laylist
P
Set A
R
Asp...
Pause
FB
FF
Prev.
Next
Stop
Info
Got...
Set A
MUTE
laylist
P
Ran...
Rep...
R
For service assistance and product information, please call: 1-800-968-9853.
Pour obtenir assistance et information appelez: 1-800-968-9853.
Curtis International Ltd.
7045 BECKETT DRIVE, UNIT 15,
MISSISSAUGA, ON, L5S 2A3
www.curtisint.com
To make a warranty claim, do not return this product to the store. Please email
support@curtiscs.com or call 1-800-968-9853.
90 day Warranty
This product is warranted to be free from defects in material and workmanship for a
period of ninety (90) days from the date of original purchase. During this period, your
exclusive remedy is repair or replacement of this product or component found to be
defective, at our option; however, you are responsible for all costs associated with
returning the product to us. If the product or component is no longer available, we will
replace with a similar one of equal or greater value. Prior
to a replacement being sent,
the product must be rendered inoperable or returned to us.
This warranty does not cover glass, filters, wear from normal use, use not in conformity
with the printed directions., or damage to the product resulting from accident, alteration,
abuse, or misuse. This warranty extends only to the original consumer purchaser or gift
recipient. Keep the original sales receipt, as proof of purchase is required to make a
warranty claim. This warranty is void if the p
roduct is used for other than single-family
household use or subjected to any voltage and waveform other than as on the specified
rating on the label (e.g., 120V~60Hz).
We exclude all claims for special, incidental, and consequential damages caused by
breach of express or implied warranty. All liability is limited to the amount of the
purchase price. Every implied warranty, including any statutory warranty or
condition of merchantability or fitness for a particular purpose, is disclaimed
except
to the extent prohibited by law, in which case such warranty or condition is
limited to the duration of this written warranty. This warranty gives you specific legal
rights. You may have other legal rights that vary depending on where you live. Some
states or provinces do not allow limitations on implied warranties or special, incidental, or
consequential damages, so the foregoing limitations may not apply to you.
For faster service, locate the model, type, and serial numbers on your appliance.

Related product manuals