EasyManua.ls Logo

RCA RPJ136 - Projector Menu - Picture Settings; Picture Mode Selection; Color Temperature Adjustment; Aspect Ratio Configuration

RCA RPJ136
22 pages
Print Icon
To Next Page IconTo Next Page
To Next Page IconTo Next Page
To Previous Page IconTo Previous Page
To Previous Page IconTo Previous Page
Loading...
15
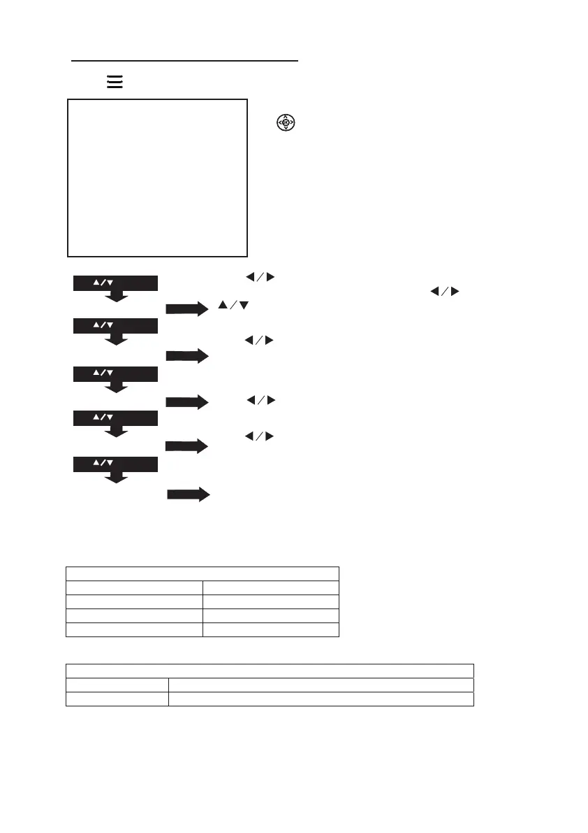
Using Projector Menu 1.0
Press button to enter projector menu. Press again to previous status.
Use buttons to select manual page.
This manual showed on right upper of view
screen.
Use to select different picture effect to
Soft / Standard / Vivid / User. Use or
to select Contrast / Brightness / Color /
Sharpness digit If chose User item.
Use to select different color temperature
to Cool / Medium / Warm
. Follow below figure.
Use buttons
to select screen ratio 4:3 or
16:9. Follow below figure.
Use buttons to select Off / Low / Middle /
High / Default.
Color temper… (temperature)
Customer define Parameter
red 0-100
blue 0-100
green 0-100
Aspect Ratio
4:3 The signal in a 4:3 aspect ratio projection image
16:9 The signal in a 16:9 aspect ratio projection image
USE
TO SELECT
USE
TO SELECT
USE
TO SELECT
USE
TO SELECT
USE
TO SELECT
PRESS OK
PRESS OK
PRESS OK
PRES
S
OK
Picture Mode Standard
Color Temper...
Aspect Ratio
Noise Reduction
Optional
PRESS OK
Screen
OK
Picture Mode Standard
Contrast 5 0
Brithn
ess 50
Color 50
Sharpn
ess 50
Color Temperature
Medium
Aspect Ratio Auto
Noise Reduction Middle
Screen
Tint
50

Related product manuals