EasyManua.ls Logo

RCA WDK30AE7N - Control Pads on the Dehumidifier; Control Pads

RCA WDK30AE7N
14 pages
Print Icon
To Next Page IconTo Next Page
To Next Page IconTo Next Page
To Previous Page IconTo Previous Page
To Previous Page IconTo Previous Page
Loading...
4
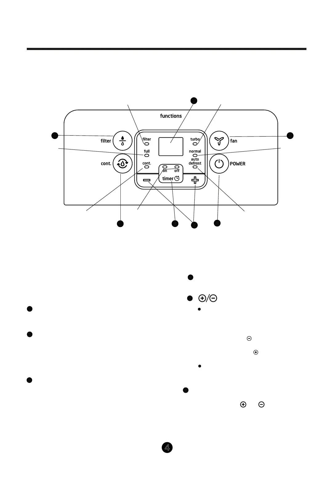
CONTROL PADS ON THE DEHUMIDIFIER
Control pads
3
When you push the button to change
operation modes, the unit will make
a beep sound to indicate that it is
changing modes.
NOTE: The control panel of the unit you purchased may be slightly different according to the
models.
Fig.1
Fan Pad
Control the fan speed. Press to select either High
or Normal fan speed. Set the fan control to High for
maximum moisture removal. When the humidity has
been reduced and quiet operation is preferred, set
the f
an control to Normal.
2
Filter Pad
The check filter feature is a reminder to clean the
Air Filter for more efficient operation. The Filter
light(Clean filter l ight) will illuminate after 250 hours
of operation. To reset after cleaning the filter, press
the Filter pad and the light will go off.
5
Humidity Set Control Pads
: Down/Up Pads
TIMER Set Control Pads
Use the Up/Down pads to set the Auto
start and Auto stop time from 0.0 to 24.
The humidity level can be set within a range of
35%RH(Relative Humidity) to 85%RH(Relative
Humidity) in 5% increments.
For drier air, press the pad and set to a lower
percent value(%).
For damper air, press the pad and set a higher
percent value(%).
6
Timer Pad
Press to initiate the Auto start and Auto stop feature,
in conjuction with the and key pads.
3
Low fan
indicator light
Auto defrost operation on
indicator light
High fan
indicator light
1
2
4
6
7
Clean filter
indicator light
Bucket full
indicator light
Continuous
operation on
indicator light
Timer on/off
indicator light
1
Continue Pad
Press to activate the continuous dehumidifying
operation.
4
Power Pad
Press to turn the dehumidifier on and off.
5

Related product manuals