EasyManua.ls Logo

Realtek RTL8188CEB8 - Table 2. Functional Specifications; Environmental; Operating; Storage

Default Icon
13 pages
Print Icon
To Next Page IconTo Next Page
To Next Page IconTo Next Page
To Previous Page IconTo Previous Page
To Previous Page IconTo Previous Page
Loading...
RTL8188CEB8
Combo mini-Card User Manual
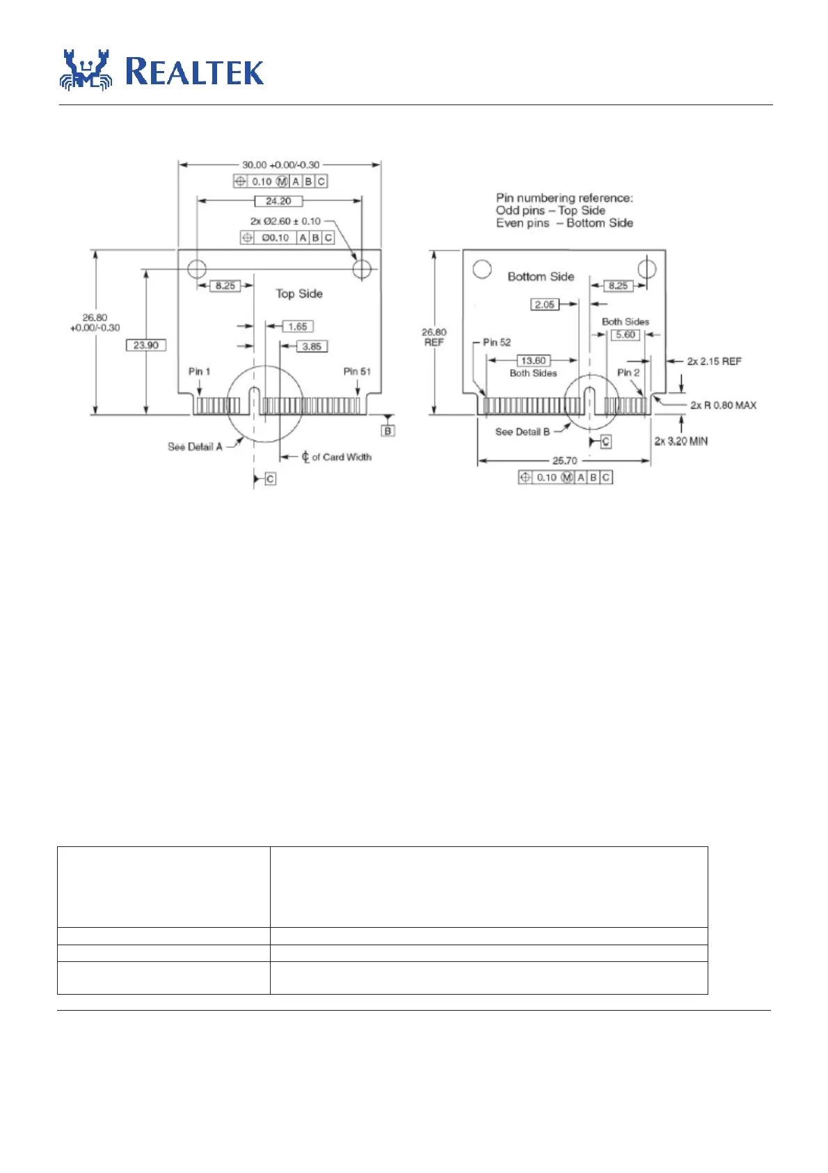
2.4. Mechanical
Figure 1. RTL8188CE miniCard Mechanical Specification
2.5. Environmental
2.5.1. Operating
Operating Temperature: -20 to 70 !C
Relative Humidity: 5-90% (non-condensing)
2.5.2. Storage
Temperature: -55 to 125 !C
Relevant Humidity: 5-95% (non-condensing)
2.6. Functional Specifications
Table 2. Functional Specifications
Standards
WiFi:
IEEE 802.11b, IEEE 802.11g, Draft IEEE 802.11n, IEEE 802.11d,
IEEE 802.11e, IEEE 802.11h, IEEE 802.11i
BT:
BT v3.0
Bus Interface WiFi: PCI Express BT: USB
Form Factor
Half Size Mini Card
Data Rate
802.11b:
11, 5.5, 2, 1 Mbps;
5 Rev.1.0

Related product manuals