EasyManua.ls Logo

Record Power DP58P - Page 20

Record Power DP58P
25 pages
Print Icon
To Next Page IconTo Next Page
To Next Page IconTo Next Page
To Previous Page IconTo Previous Page
To Previous Page IconTo Previous Page
Loading...
20
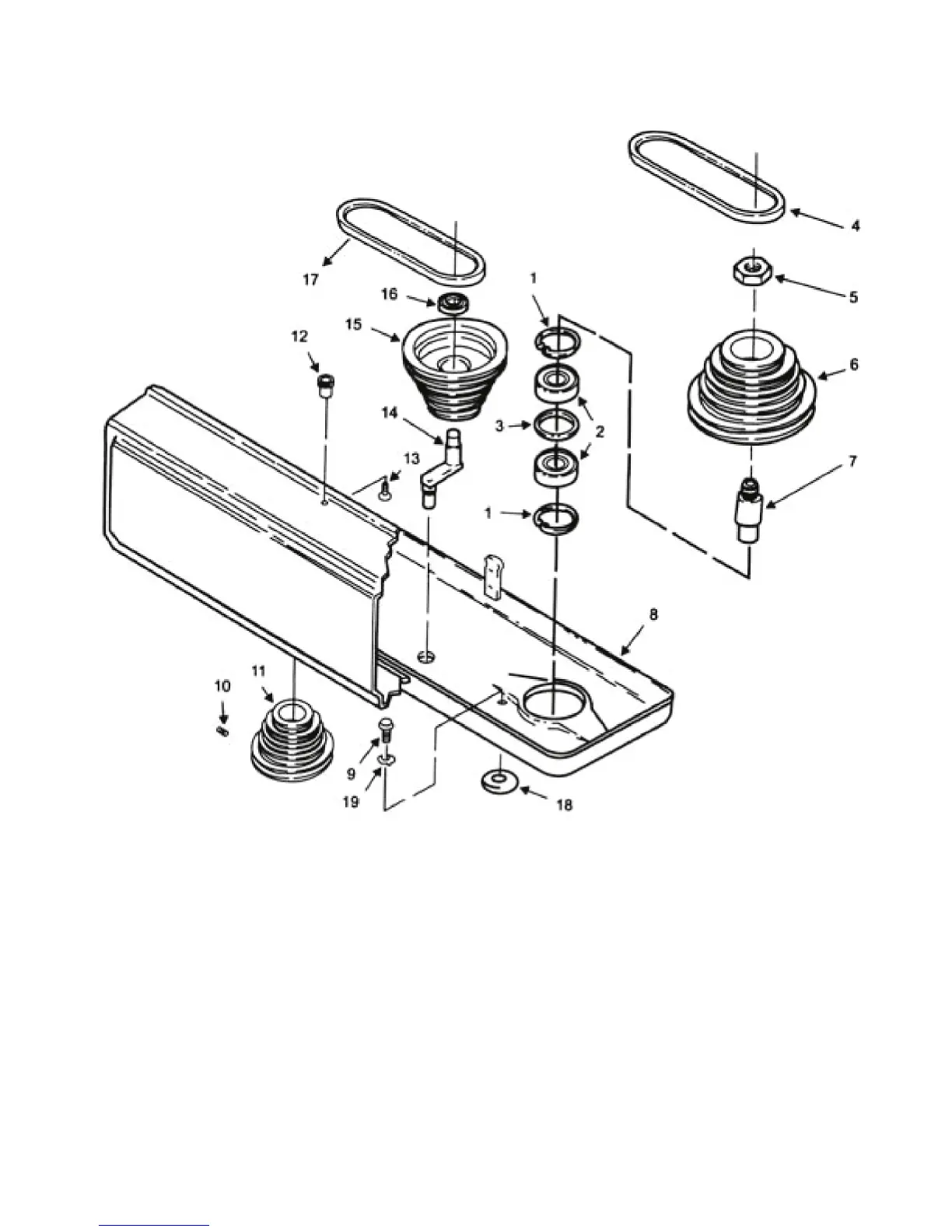
Spare Parts Diagram 3
3-1. Retaining ring
3-2. Bearing ball 25mm
3-3. Spacer
3-4. Belt “V” M25
3-5. Nut pulley
3-6. Pulley spindle
3-7. Insert spindle
3-8. Guard pulley w/labels
3-9. Screw RD HD Washer M6x1.0-16
3-10. Screw set M10x1.5-12
3-11. Motor pulley
3-12. Knob
3-13. Screw pan HD M5 x 0.8-12
3-14. Pivot idler
3-15. Pulley centre
3-16. Bearing ball 15mm
3-17. Belt “V” M26
3-18. Foam washer
3-19. Lock washer Ext. M6
Spare Parts List for Diagram 3
13. Parts Lists & Diagrams - Cont.

Related product manuals