EasyManua.ls Logo

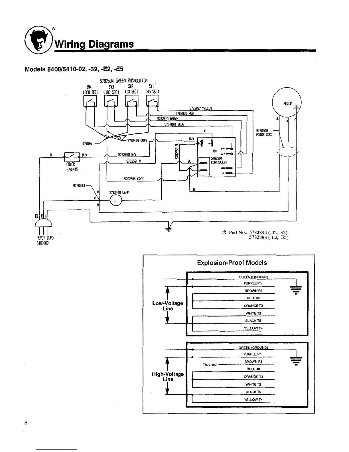
RED DEVIL 5400-02 - Wiring Diagrams; Models 5400;5410-02, -32, -E2, -E5; Old Style Explosion Proof Motor Wiring Diagram

RED DEVIL 5400-02
22 pages
Print Icon
To Next Page IconTo Next Page
To Next Page IconTo Next Page
To Previous Page IconTo Previous Page
To Previous Page IconTo Previous Page
Loading...
Old Style Explosion Proof Motor
Wiring Diagram for Motors used
PRIOR to March 1, 2006
9

Related product manuals