EasyManua.ls Logo

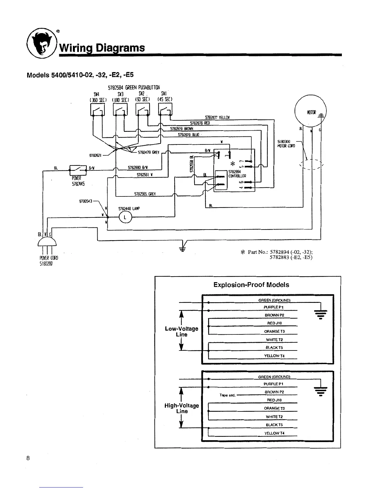
RED DEVIL 5410-OH - Wiring Diagrams; Old Style Explosion Proof Motor Wiring Diagram

Default Icon
22 pages
Print Icon
To Next Page IconTo Next Page
To Next Page IconTo Next Page
To Previous Page IconTo Previous Page
To Previous Page IconTo Previous Page
Loading...
Old Style Explosion Proof Motor
Wiring Diagram for Motors used
PRIOR to March 1, 2006
9

Related product manuals