EasyManua.ls Logo

Reef Factory Smart roller - Page 30

Default Icon
41 pages
Print Icon
To Next Page IconTo Next Page
To Next Page IconTo Next Page
To Previous Page IconTo Previous Page
To Previous Page IconTo Previous Page
Loading...
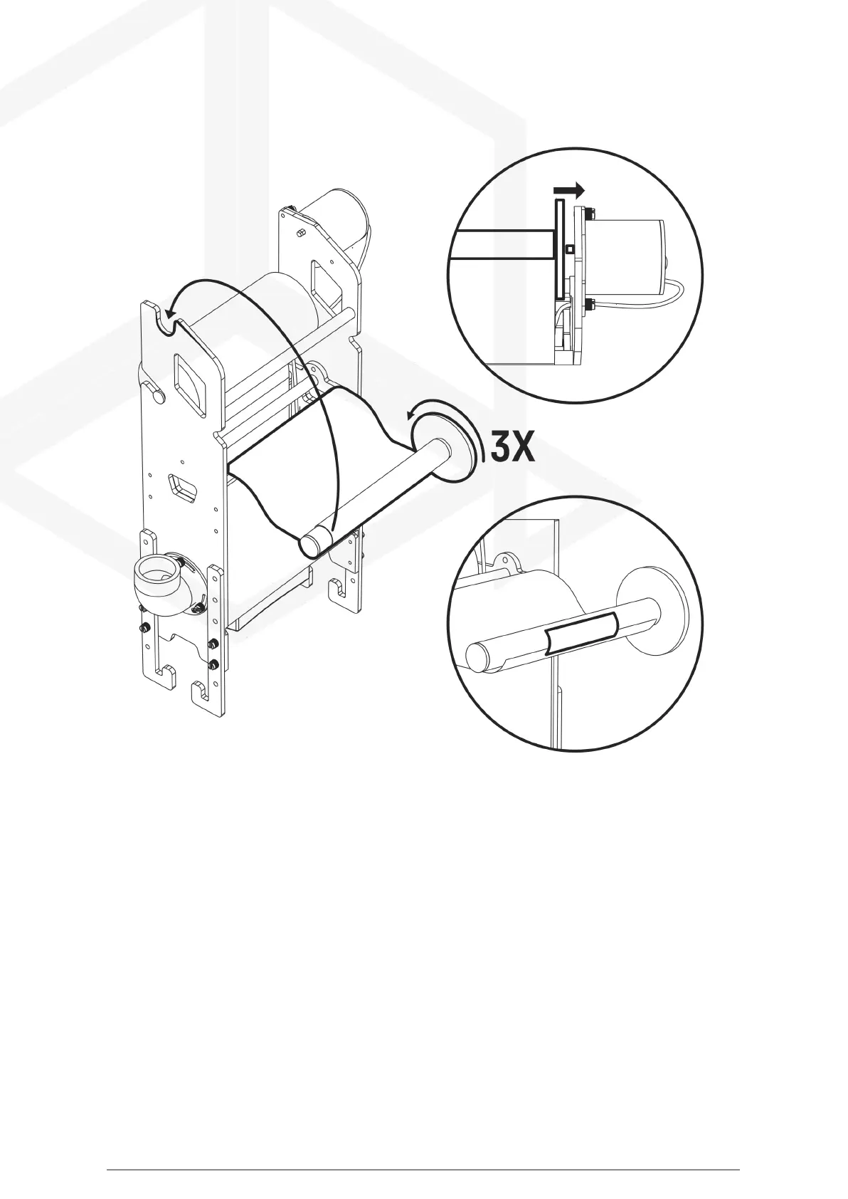
Using the label from the packaging, glue the fleece to the empty winding reel, wind it in 3 layers and mount
it on the motor spindle.
Smart roller manual © Reef Factory 2023
30

Related product manuals