EasyManua.ls Logo

Regal SMARTVALVES - Page 32

Default Icon
36 pages
Print Icon
To Next Page IconTo Next Page
To Next Page IconTo Next Page
To Previous Page IconTo Previous Page
To Previous Page IconTo Previous Page
Loading...
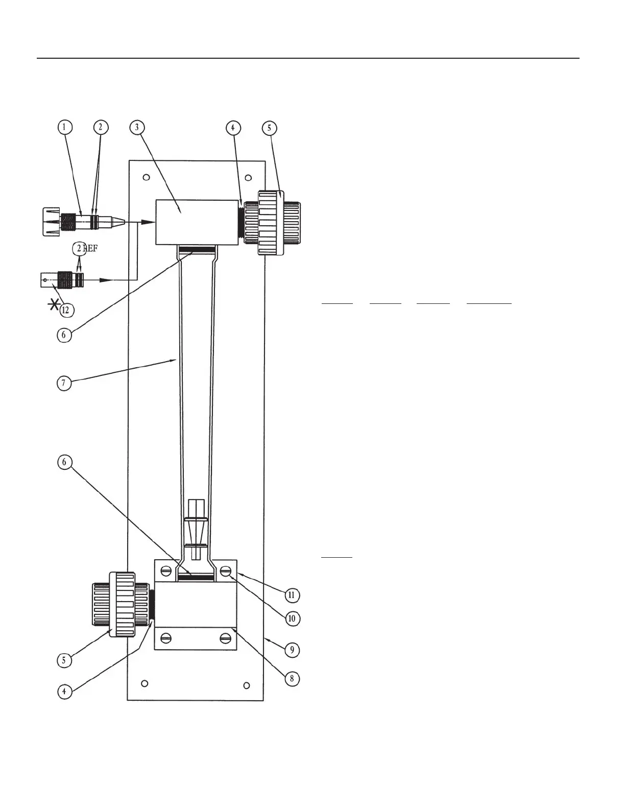
DRAWING NO. 15 REMOTE METER PANEL ASSEMBLY
for 1000/2000 PPD Systems
Quantity
1
2
1
2
2
2
1
1
1
12
1
1
Description
Rate Valve Plug Assembly
1000/2000 PPD (20/40 Kg/Hr)
(For Manual control only)
Rate Valve Stem Seal
Rate Valve Seat Block
1" NPT Close Nipple
1" NPT Union
Metering Tube Seal
Metering Tube/Float Assembly
1000 PPD (20 Kg/Hr)
2000 PPD (40 Kg/Hr)
Flow Meter Inlet Block
Back Panel
Mounting Screws
For RV-810 & RV-814
Base Plate for RV-814
Rate Valve Seat Plug with
(2) S-803 Seals
NOTES:
1. Include Chlorinator Serial Number and Capacity on order.
*2. RV-824 rate valve seat plug with two S-803 seals supplied with
SMARTVALVE at 1000/2000 PPD only.
Part No.
RV-825
S-803
RV-810
MS-21
MS-19
S-801
A-2100
A-2200
RV-814
D-2000
Z-815
D-2001
RV-824
*
Ref. No.
1
2
3
4
5
6
7
8
9
10
11
12
32

Related product manuals