EasyManua.ls Logo

REMS Tornado 2000 - Page 23

REMS Tornado 2000
42 pages
Print Icon
To Next Page IconTo Next Page
To Next Page IconTo Next Page
To Previous Page IconTo Previous Page
To Previous Page IconTo Previous Page
Loading...
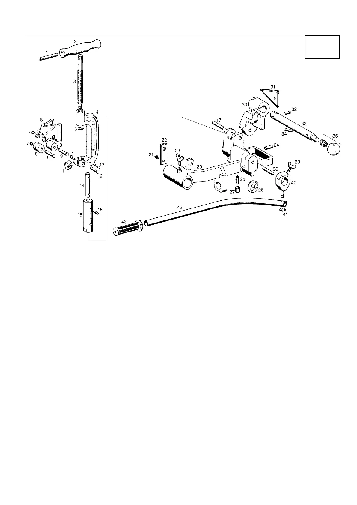
deu Rohrabschneider eng Pipe cutter fra Coupe tube ita Tagliatubi
Werkzeugträger Tool holder Porte-outil Porta utensili
Rohrinnenentgrater Reamer Alésoir Sbavatore
1
/8 2”
–– Rohrabschneider
1
/8 2” Pipe cutter
1
/8 2” Coupe-tube
1
/8 2” Tagliatubi
1
/8 2”
Pos. 1 – 12 Pos. 1 – 12 Pos. 1 – 12 Pos. 1 – 12 341608R
–– Spindel kompl. Pos. 1 – 3 Spindle compl. Pos. 1 – 3 Arbre compl. Pos. 1 – 3 Albero compl. Pos. 1 – 3 341620R
1 Spannhülse Adaptor sleeve Douille de serrage Spina elastica 088092
2 Griff Handle Poignée Manopola 341618R
4 Bügel Bow Etrier Staffa 341615R
5 Federscheibe Spring washer Rondelle ressort Rondella elastica 341619
6 Rollenhalter Roller holder Support galets Portarulli 341616R
7 Federring Spring ring Anneau élastique Ranella elastica 341613
8 Führungsrolle Guiding roller Galet de guidage Rullo guida 341610
–– Rollenbolzen mont. Roller bolt mounted Axe de galet monté Perno mont.
Pos. 7 und 9 Pos. 7 and 9 Pos. 7 et 9 Pos. 7 e 9 341621
10 Führungsrolle 2 Guiding roller 2 Galet de guidage 2 Rullo guida 2 341609
11 Schneidrad
1
/8 2” Cutter wheel
1
/8 2” Molette
1
/8 2” Rotella
1
/8 2” 341614R
–– Schneidradbolzen mont. Cutter wheel bolt mounted Axe monté Perno rotella mont.
Pos. 7 und 12 Pos. 7 and 12 Pos. 7 et 12 Pos. 7 e 12 341622
13 Spiralspannstift Spiral pin Goupille spiralée Spina elastica 088070
14 Führungsbolzen Guiding bolt Axe de guidage Perno guida 341602
15 Führungshülse Guiding sleeve Douille de guidage Spina guida 341601R
16 Spiralspannstift Spiral pin Goupille spiralée Spina elastica 088069
17 Zylinderstift Straight pin Tige cylindrique Spina cilindrica 088060
–– Werkzeugträger montiert Tool holder mounted Porte-outil monté Porta utensili montato
Pos. 20 – 27 Pos. 20 – 27 Pos. 20 – 27 Pos. 20 – 27 341205R
21 Zylinderschraube Fillister head screw Vis à tête cylindrique Vite a testa cilindrica 081027
22 Platte Plate Plaque Piastrina 341206R
23 Flügelschraube Wing screw Vis à oreilles Vite a farfalla 083043
24 Tülle Socket Passe-câble Boccola 351026
25 Federdruckstück Spring pressure piece Element d’arrêt à bille Elemento premente elastico 061011
26 Stopfen Drain plug Bouchon Tappo a vite 341212R
27 Reduzierung Reduction Réducteur Adattatore 341209R
–– Rohrinnenentgrateinrichtung Inner pipe deburrer Ébavureur intérieur pour tubes Sbavatore interno per tubi
Pos. 30 – 36 Pos. 30 – 36 Pos. 30 – 36 Pos. 30 – 36 341700R
30 Entgraterhalter Deburring holder Support de l’ébavureur Supporto sbavatore 341701R
31 Entgratklinge Deburrer blade Lame d’ebavureur Lama sbavatore 341703R
32 Spiralspannstift Spiral pin Goupille spiralée Spina elastica 088063
33 Entgrater-Pinole Deburring spindle Axe de l’ébavureur Albero sbavatore 341702R
34 Spiralspannstift Spiral pin Goupille spiralée Spina elastica 088072
35 Kugelknopf Knob Bouton sphérique Pomello 071007
36 Zylinderstift Straight pin Tige cylindrique Spina cilindrica 088059
–– Andrückhebel kompl. Pressing lever compl. Levier d’appui complet Leva d’imbocco compl.
Pos. 23 und 40 – 43 Pos. 23 and 40 – 43 Pos. 23 et 40 – 43 Pos. 23 e 40 – 43 341204
40 Klemmring Clamping ring Anneau de serrage Anello di fissaggio 341202R
41 Sicherungsscheibe Lock washer Rondelle de securité Rondella tenuta 059042
43 Handgriff Handle Poignée Impugnatura 071016
Tornado
Magnum 2000
Magnum 2010
Magnum 2020

Other manuals for REMS Tornado 2000

Related product manuals