EasyManua.ls Logo

REMS Tornado 2000 - Page 32

REMS Tornado 2000
42 pages
Print Icon
To Next Page IconTo Next Page
To Next Page IconTo Next Page
To Previous Page IconTo Previous Page
To Previous Page IconTo Previous Page
Loading...
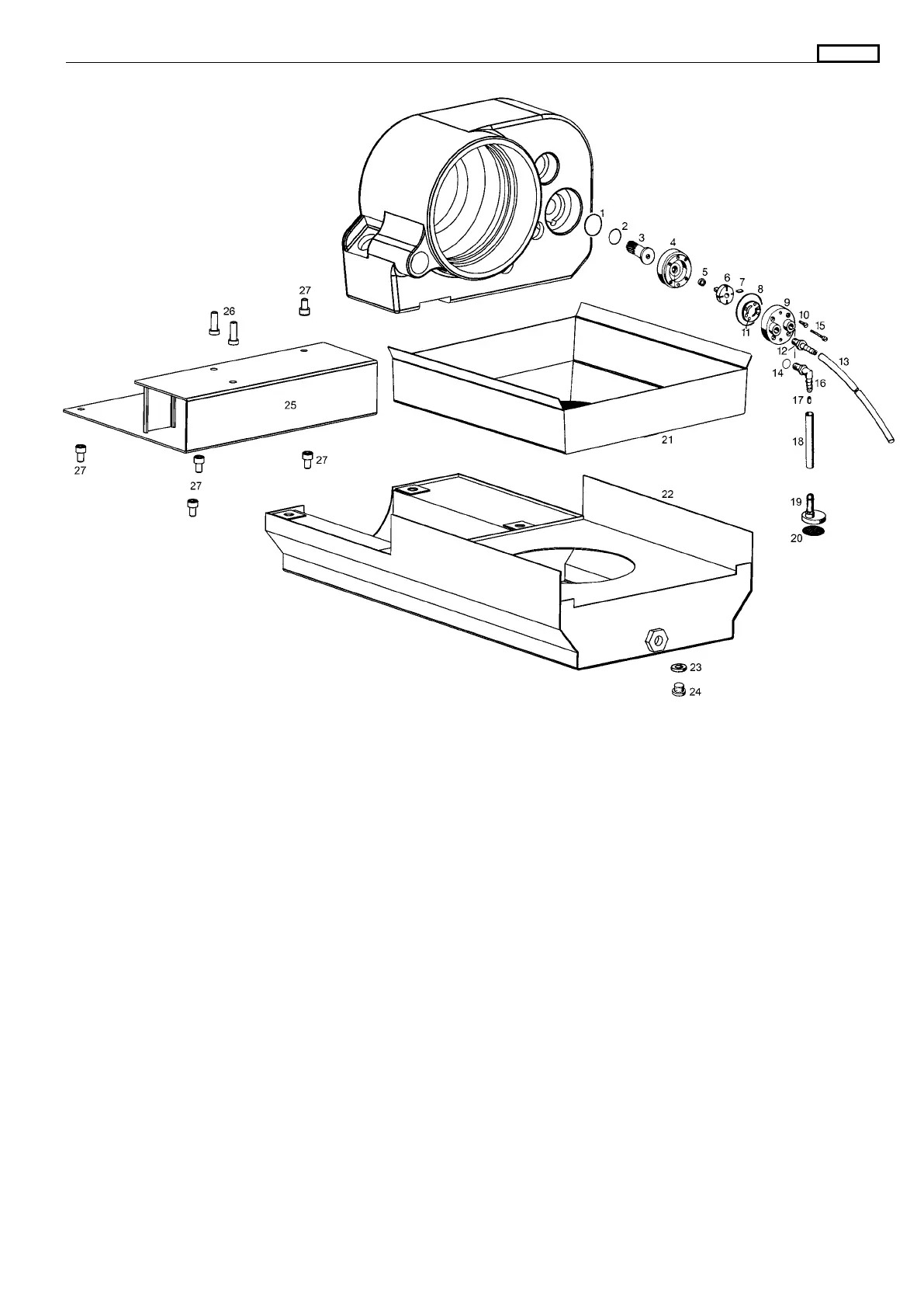
1 O-Ring O-ring Joint torique Guarnizione O-Ring 060018
2 O-Ring O-ring Joint torique Guarnizione O-Ring 060143
–– Pumpenritzel Pump pinion Pignon de pompe Pignone pompa
mit O-Ring with O-ring avec joint torique con guarnizione O-Ring
Pos. 2 und 3 Pos. 2 and 3 Pos. 2 et 3 Pos. 2 e 3 342031RE
–– Pumpe kompl. Pump complete Pompe complète Pompa completa
Pos. 4 – 11 Pos. 4 – 11 Pos. 4 – 11 Pos. 4 – 11 342026RPU
12 Kunststoffnippel Plastic nipple Mamelon en matière plastique Raccordo 045073
13 Kunststoffschlauch Plastic hose Tuyau en matière plastique Tubo flessibile 044022-0430
14 O-Ring O-ring Joint torique Guarnizione O-Ring 060112
15 Linsenschraube Filister head screw Vis tête fraisée bombée Vite a testa svasata con perno 083008
16 Kunststoffwinkel Plastic angle Coude en matière plastique Gomito 045072
17 Blende Reducing piece Pièce de réduction Pezzo riduttore 342036
18 Kunststoffschlauch Plastic hose Tuyau en matière plastique Tubo flessibile 044022-0275
–– Saugstück kompl. Suction piece compl. Pièce d’aspiration compl. Pezzo d’aspirazione compl.
Pos. 19 und 20 Pos. 19 and 20 Pos. 19 et 20 Pos. 19 e 20 342032
21 Spänebehälter Chip tray Recipient à copeaux Raccoglitrucioli 344004R
–– Wanne Pos. 22–24 Trough Pos. 22–24 Bac Pos. 22–24 Vasca Pos. 22–24 384001R
23 Dichtring Sealing ring Bague d’étanchéité Anello di tenuta 060181
24 Verschlußschraube Screw plug Bouchon fileté Tappo a vite 083034
–– Konsole kompl. Bracket compl. Profile compl. Profilo compl.
Pos. 25–27 Pos. 25–27 Pos. 25–27 Pos. 25–27 344005R
26 Zylinderschraube Fillister head screw Vis à tête cylindrique Vite a testa cilindrica 081041
27 Zylinderschraube Fillister head screw Vis à tête cylindrique Vite a testa cilindrica 081038
deu Wanne eng Trough fra Bac ita Vasca
Tornado

Other manuals for REMS Tornado 2000

Related product manuals