EasyManua.ls Logo

Renkforce MP5000 - Connections And Control Elements

Renkforce MP5000
Print Icon
To Next Page IconTo Next Page
To Next Page IconTo Next Page
To Previous Page IconTo Previous Page
To Previous Page IconTo Previous Page
Loading...
23
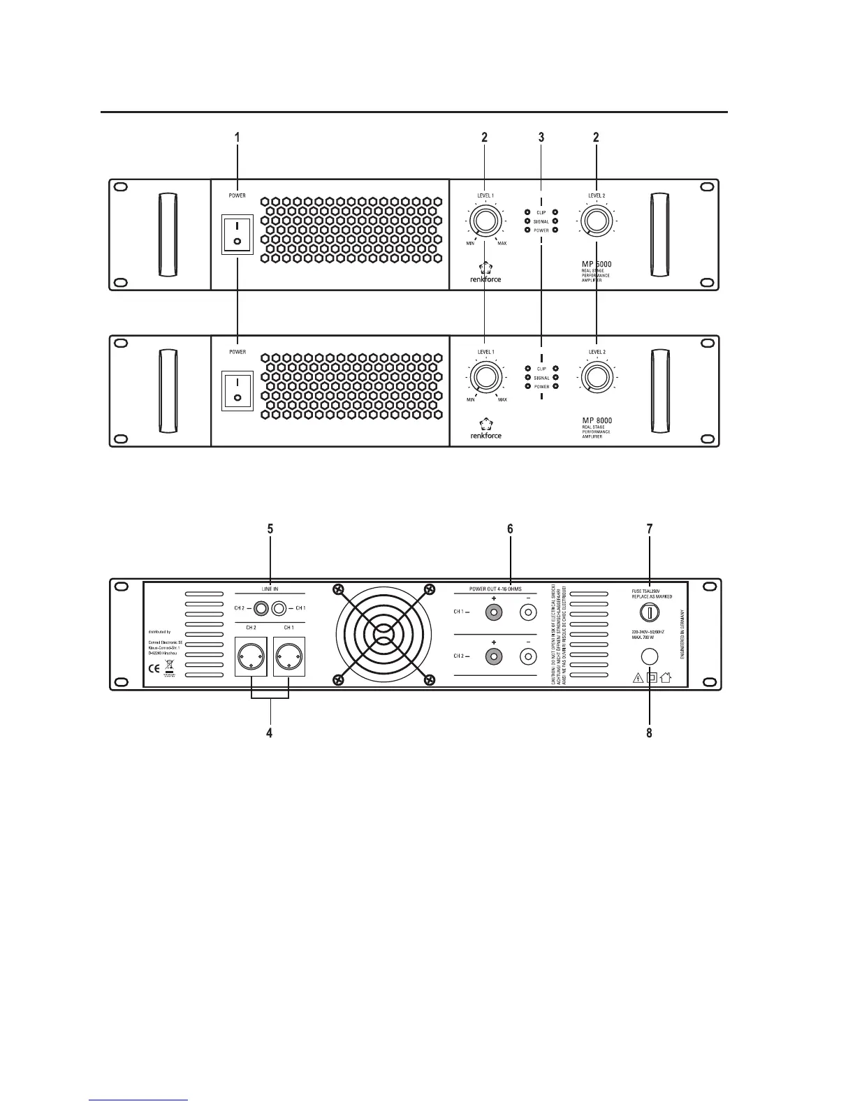
6. Connections and Control Elements
(1) POWER mains switch
(2) LEVEL volume controller
(3) Status displays
(4) LINE IN XLR input sockets
(5) LINE IN cinch input sockets
(6) POWER OUT speaker outputs
(7) FUSE holder
(8) Mains cable

Table of Contents

Related product manuals